Лебідка ТЕЛ-5
Тягова електрична лебідка ТЕЛ-5
Використання електролебідок тягових ТЕЛ-5 істотно полегшує виробничу та будівельну діяльність. Вона дає змогу переміщати великогабаритні вантажі найбільш ефективно й безпечно.
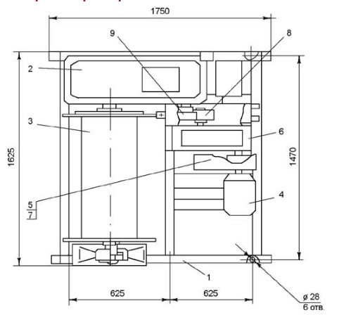
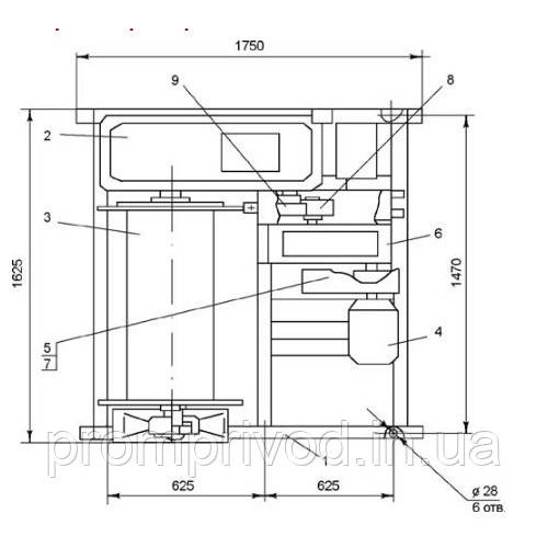
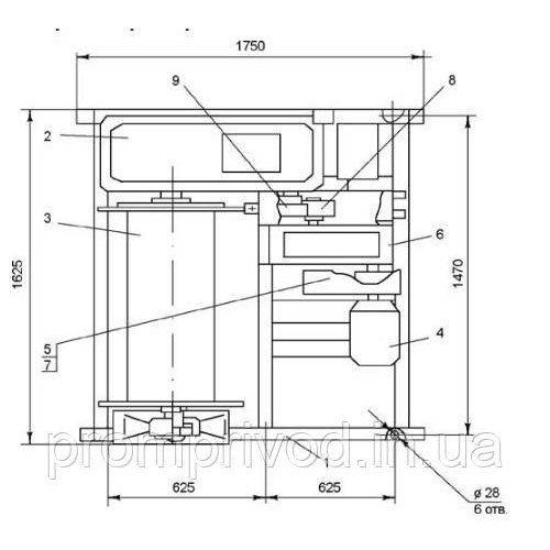
Конструкція лебідки містить спеціальний редуктор, електричний двигун, барабан, редуктор і гальмо. Повну конструкцію можна побачити на креслярстві, представленому нижче.
Використання лебідки має відбуватися в тих умовах, які відповідають її режиму роботи й основних характеристик. У разі правильного та коректного використання агрегат справно функціонуватиме впродовж понад 10 років.
Конструкція лебідки серії ТЕЛ-5

1. Рама
2. Редуктор спеціальний
3. Барабан у зборі
4. Електродвигун
5. Муфта
6. Редуктор Ц2У-160
7. Гальмо ТКГ-160
8. Шестерня
9. Шестерня
Основні технічні характеристики
| Тягове зусилля, кгс | 5000 |
| Швидкість навивки каната на першому шарі, м/с | 0,028 |
| Канатоємність барабана, м | 220 |
| Діаметр каната, мм | 22,5 |
| Електродвигун потужність за ПВ=40%, кВт | 3,2 |
| Редуктор | спеціальний |
| Редуктор | Ц2У-160 |
| Гальмо | ТКГ-160 |
| Габаритні розміри лебідки | 1625х1750х875 |
| Маса лебідки без каната, кг | 1000 |
Лебедка ТЭЛ-5
Відгуків про цей товар ще не було.
Немає відгуків про цей товар, станьте першим, залиште свій відгук.
Немає питань про даний товар, станьте першим і задайте своє питання.