Лебідка ТЕЛ-5А
Тягова електрична лебідка ТЕЛ-5А
Тягові лебідки ТЕЛ-5А переміщення великогабаритного вантажу з тяговим зусиллям до 1000 кг. Вони виробляють травлення і вибирання троса, ланцюга або іншого гнучкого елемента, який намотується на барабан. Такий механізм використовується як частина складнішої системи або як самостійний пристрій.
Лебідки треба встановлювати на горизонтальну закріплену поверхню за допомогою анкерних болтів. Експлуатація має проводитися в неагресивному середовищі за несильної запиленості в помірному або тропічному кліматі.
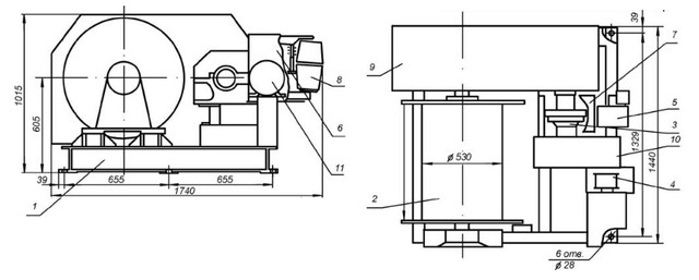
Конструкція лебідки серії ТЕЛ-5А

1. Рама
2. Барабан у зборі
3, 4. Муфти
5. Встановлення пускової апаратури
6, 7. Кожухи
8. Гальмо.
9, 10. Редуктори
11. Електродвигун
Основні технічні характеристики
| Тягове зусилля, кгс | 5700 |
| Швидкість навивки каната на першому шарі, м/с | 0,02 |
| Канатоємність барабана, м | 270 |
| Діаметр каната, мм | 24 |
| Електродвигун потужність за ПВ=40%, кВт | 3 |
| Редуктор | Ц2Н-400Н |
| Редуктор | 1Ц2У-160 |
| Гальмо | ТКГ-160 |
| Габаритні розміри лебідки | 1740х1440х1015 |
| Маса лебідки без каната, кг | 1500 |
Лебедка ТЭЛ-5А
Відгуків про цей товар ще не було.
Немає відгуків про цей товар, станьте першим, залиште свій відгук.
Немає питань про даний товар, станьте першим і задайте своє питання.