Мотор-редуктор МПО-2М-10
Планетарний мотор-редуктор МПО-2М-10
Планетарний мотор редуктор МПО-2М-10 — це механізм для передавання свого крутного моменту механізмам для перемішування, які застосовуються в хімічних, харчових або загальнопромислових галузях.
Мотор-редуктор МПА-2М-10 має можливість працювати тривалий час без зупинок і з різними типами навантажень. Є дуже надійним і високим показником ККД.
Купити цю модель мотор-редуктора можна легко на нашому сайті. Для замовлення цього товару Ви можете зв'язатися з нашим менеджером за номером зазначеною на сайті або заповнити онлайн-форму.
Купуючи мотор-редуктор, Ви також отримуєте:
• висока якість,
• ціну від виробника,
• паспорт,
• гарантію 36 місяців.
Доставка проводиться будь-яким зручним для Вас способом на всій території України.
Технічні характеристики планетарного мотор-редуктора МПО-2М-10
| Передатне число | Швидкість, з якою обертається вихідний вал, об/хв | Момент кручення на виході, Нм | Маса пристрою, кг | Рівень потужності за шкалою А, дБ (не більш ніж) | Двигун | |
| Марка двигуна | Потужність, кВт | |||||
| 23.1 | 63 | 441 | 102 | 89 | 4АМХ100S4 | 3 |
| 142 | 2B100S4 | |||||
| 28.2 | 50 | 139 | 102 | 4AMX100S4 | ||
| 142 | 2B100S4 | |||||
| 278 | 86 | 86 | 4AMX80B4 | 1.5 | ||
| 100 | B80B4 | |||||
| 555 | 81 | 4AMX71B4 | 0.75 | |||
| 88 | B71B4 | |||||
| 45.5 | 31.5 | 220 | 86 | 4AMX80B4 | 1.5 | |
| 100 | B80B4 | |||||
| 441 | 81 | 4AMX71B4 | 0.75 | |||
| 88 | B71B4 | |||||
| 66.5 | 20 | 347 | 86 | 4AMX80B4 | 1.5 | |
| 100 | B80B4 | |||||
| 694 | 81 | 4AMX71B4 | 0.75 | |||
| 88 | B71B4 | |||||
| 81.6 | 16 | 434 | 81 | 4AMX71B4 | ||
| 88 | B71B4 | |||||
| 208 | 6.3 | 543 | 71 | 4AA63B4 | 0.37 | |
| 85 | B63B4 | |||||
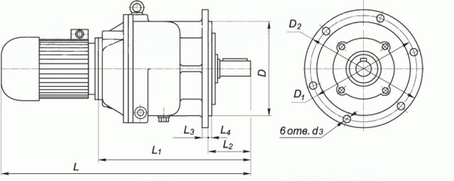
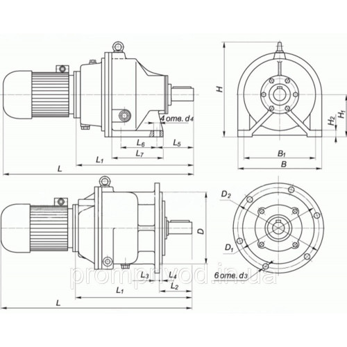
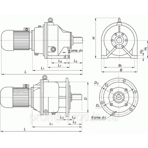
Схема габаритних і приєднувальних розмірів мотор-редуктора МО-2М-10
На лапах

| L | L1 | L5 | L6 | L7 | B | B1 | H | H1 | H2 | d4 |
| 730 | 430 | 125 | 150 | 210 | 300 | 250 | 365 | 160 | 20 | 17 |
На фланці

| L | L1 | L2 | L3 | L4 | D | D1 | D2 | d3 |
| 730 | 430 | 110 | 16 | 6 | 270 | 300 | 330 | 13 |
Розміри циліндричного та конічного валів:
| d | d1 | d2 | l | l1 | l2 | b | t | n |
| 40k6 | 32 | 38 | 80 | 5 | 4 | 12 | 43 | 6 |
Мотор-редуктор МПО-2М-10
Відгуків про цей товар ще не було.
Немає відгуків про цей товар, станьте першим, залиште свій відгук.
Немає питань про даний товар, станьте першим і задайте своє питання.