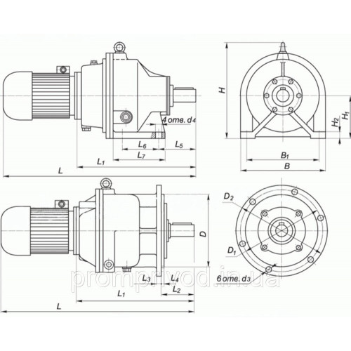
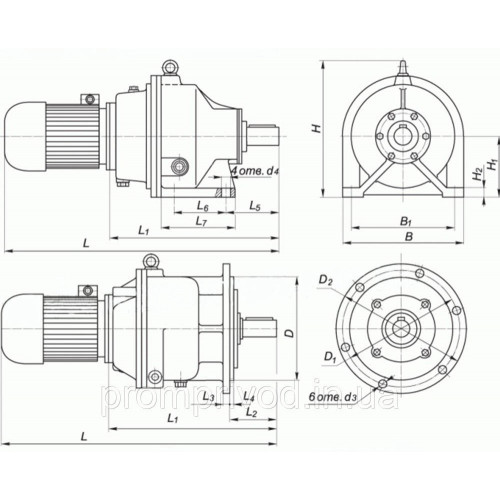
Мотор-редуктор МПО-2М-18
Планетарний мотор-редуктор МПО-2М-18
Планетарний мотор-редуктор МОПО-2М-18 — це пристрій, що складається з електропривода та планетарного редуктора. Його завданням є передавання свого крутного моменту іншим механізмам. Загалом застосовується для перемішувальних конструкцій.
Мотор-редуктор МПА-2М-18 може працювати до 24 годин без зупинки в одному напрямку або реверсному режимі. Дуже надійний і простий в експлуатації.
Купити цю модель мотор-редуктора можна легко на нашому сайті. Для замовлення цього товару Ви можете зв'язатися з нашим менеджером за номером зазначеною на сайті або заповнити онлайн-форму.
Купуючи мотор-редуктор, Ви також отримуєте:
• висока якість,
• ціну від виробника,
• паспорт,
• гарантію 36 місяців.
Доставка виконується будь-яким зручним для Вас способом на всій території України.
Технічні характеристики планетарного мотор-редуктора МПО-2М-18
| Передатне число | Швидкість, з якою обертається вихідний вал, об/хв | Момент кручення на виході, Нм | Потужність двигуна, кВт | Допустиме навантаження на вихідному валу, Н | Маса мотор редуктора, кг |
| 208 | 6.7 | 2072 | 1.5 | 12000 | 425 |
| 435 | |||||
| 96 | 15 | 1851 | 3 | 440 | |
| 480 | |||||
| 81.6 | 18 | 2827 | 5.5 | 460 | |
| 515 | |||||
| 66.5 | 22 | 2313 | 5.5 | 460 | |
| 515 | |||||
| 3154 | 7.5 | 485 | |||
| 535 | |||||
| 45.5 | 32 | 2169 | 7.5 | 485 | |
| 535 | |||||
| 3181 | 11 | 500 | |||
| 550 | |||||
| 29.6 | 49 | 2077 | 11 | 500 | |
| 550 | |||||
| 2833 | 15 | 535 | |||
| 635 | |||||
| 22.8 | 64 | 2169 | 15 | 535 | |
| 635 |
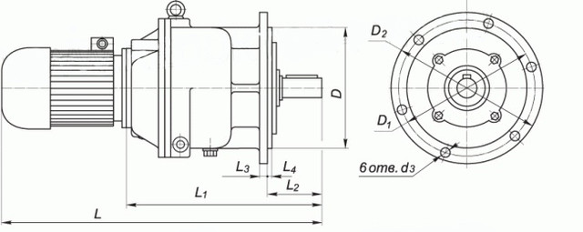
Схема габаритних і приєднувальних розмірів мотор-редуктора МО-2М-18
На лапах

| L | L1 | L5 | L6 | L7 | B | B1 | H | H1 | H2 | d4 |
| 1310 | 790 | 250 | 280 | 375 | 600 | 520 | 570 | 315 | 45 | 26 |
На фланці

| L | L1 | L2 | L3 | L4 | D | D1 | D2 | d3 |
| 1310 | 790 | 220 | 25 | 10 | 470 | 520 | 565 | 22 |
| d | d1 | d2 | l | l1 | l2 | b | t | n |
| 80k6 | 70 | 78 | 170 | 10 | 8 | 22 | 85 | 8 |
Мотор-редуктор МПО-2М-18
Відгуків про цей товар ще не було.
Немає відгуків про цей товар, станьте першим, залиште свій відгук.
Немає питань про даний товар, станьте першим і задайте своє питання.