Мотор редуктор 3МП-31,5 (1 ступінь 140 об/хв АІР100S4)
Мотор редуктор 3МП-31,5 (1 ступінь 140 об/хв АІР100S4)
Мотор редуктор 3МП-31,5 (1 ступінь 140 об/хв АІР100S4) використовується в промисловості та сільськогосподарській сфері. Комплектується двома типами обладнання - асинхронним двигуном серії АІР100S4 та редуктором із планетарною передачею зубчастого типу.
3МП має високий крутний момент на вихідному валу та широкі кінематичні можливості. Також перетворювач здатний рівномірно розподіляти радіальні сили по корпусу і має порівняно з іншими редукторами відносно невеликі габарити і масу.
Рекомендації до використання мотор-редуктора 3МП 31,5
| Характеристика | Значення |
| Тип навантаження | Постійний, змінний |
| Напрямок обертання тихохідного валу | Односпрямований або реверсивний |
| Режим роботи | Навантаження тривале або з періодичними зупинками |
| Кліматичне виконання | У, Т, категорія розміщення 2,3 |
| Температурний діапазон | Від -45 до +45С |
| Середа | Неагресивна, вибухобезпечна, з вмістом непровідного пилу до 10мг/м3 |
Основні технічні характеристики мотор-редуктора 3МП 31,5 (140 об/хв, АІР100Ѕ4)
| Частота обертання вихідного валу об/хв | Кількість ступенів | ККД мотор-редуктора не менше % | Маса редуктора кг | Допустиме радіально-консольне навантаження на вихідному валу, Н | Комплектуючий електродвигун | |
| Марка | Потужність кВт | |||||
| 140 | 1 | 80% | 43 | 1770 | АІР100Ѕ4 | 3 |
Купити мотор редуктор 3МП-31,5 1 ступінь 140 об/хв можна на сайті компанії «Промпривод» за ціною, нижчою від ринку на 3-10%. Відвантаження продукції виконується у суворо обумовлені із замовником терміни на всій території України. Наше підприємство постачає лише нове обладнання, що відповідає встановленим стандартам якості. Перед відправкою усі товари проходять обов'язкову перевірку у відділі технічного контролю.
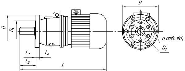
Габаритні та приєднувальні розміри мотор-редуктора 3МП 31,5 (виконання – на лапах)

| Позначення мотор-редуктора | Частота обертання вихідного валу об/хв | L | B | H | L1 | L2 | B1 | B2 | H1 | H2 | H3 | d1 |
| Не більше | ||||||||||||
| 3МП-31,5 | 140 | 590 | 250 | 247 | 86 | 130 | 155 | 190 | 100 | 15 | 25 | 15 |
Габаритні та приєднувальні розміри мотор-редуктора 3МП 31,5 (виконання - фланець)

| Позначення мотор-редуктора | Частота обертання вихідного валу об/хв | L | B | L3 | L4 | L5 | D | D1 | D2 | d2 | n |
| Не більше | |||||||||||
| 3МП-31,5 | 140 | 590 | 250 | 5 | 12 | 68 | 180 | 130 | 155 | 12 | 6 |
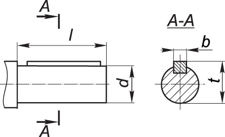
Приєднувальні розміри циліндричних валів мотор-редуктора 3МП

| Мотор-редуктор | d | l | b | t |
| 3МП-31,5 | 28k6 | 60 | 8 | 31 |
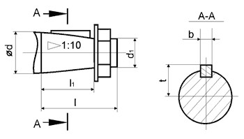
Приєднувальні розміри конічних валів мотор-редуктора 3МП

| Мотор-редуктор | d | d1 | l | l1 | b | t |
| 3МП-31,5 | 28 | М16х1,5 | 60 | 42 | 5 | 14,95 |
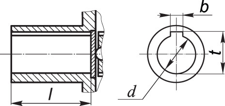
Приєднувальні розміри порожнистих валів мотор-редуктора 3МП

| Мотор-редуктор | d | l | b | t |
| 3МП-31,5 | 25Н7 | 55 | 8 | 28,1 |
Мотор редуктор 3МП-31,5 (1 ступень 140 об/мин АИР100S4)
Відгуків про цей товар ще не було.
Немає відгуків про цей товар, станьте першим, залиште свій відгук.
Немає питань про даний товар, станьте першим і задайте своє питання.