Мотор редуктор 3МП-31,5 (1 ступінь 180 об/хв АІР100L4)
Мотор редуктор 3МП-31,5 (1 ступінь 180 об/хв АІР100L4)
Мотор редуктор 3МП-31,5 (1 ступінь 180 об/хв АІР100L4) використовується для комплектації бетономішалок, систем зрошення, котелень, елеваторів, напувалок для птахів, насосних станцій, подрібнювачів сумішей. Не підходить модель промислового обладнання для установки на вантажопідйомні машини.
Основне призначення 3МП – зниження навантаження на двигун робочого обладнання. Досягається такий ефект за рахунок зменшення обертального моменту та збільшення кількості обертів механізму. Перетворювач, порівняно з іншими моделями редукторів, має порівняно невеликі габарити та масу. Він стійкий до ударних навантажень і здатний рівномірно розподіляти радіальні сили корпусу.
Рекомендації до використання мотор-редуктора 3МП 31,5
| Характеристика | Значення |
| Тип навантаження | Постійний, змінний |
| Напрямок обертання тихохідного валу | Односпрямований або реверсивний |
| Режим роботи | Навантаження тривале або з періодичними зупинками |
| Кліматичне виконання | У, Т, категорія розміщення 2,3 |
| Температурний діапазон | Від -45 до +45С |
| Середовище | Неагресивне, вибухобезпечне, з вмістом непровідної пилу до 10мг/м3 |
Основні технічні характеристики мотор-редуктора 3МП 31,5 (180 об/хв, АІР100L4)
| Частота обертання вихідного валу об/хв | Кількість ступенів | ККД мотор-редуктора не менше % | Маса редуктора кг | Допустиме радіально-консольне навантаження на вихідному валу, Н | Комплектуючий електродвигун | |
| Марка | Потужність кВт | |||||
| 180 | 1 | 83% | 48 | 1815 | АІР100L4 | 4 |
Купити мотор редуктор 3МП-31,5 1 ступінь 180 об/хв за ціною, нижчою від ринку пропонує компанія «Промпривод». Вся продукція, представлена в каталозі, відповідає стандартам якості. На неї надається гарантія 12 місяців. Відвантаження виконується після обов'язкової перевірки у відділі технічного контролю.
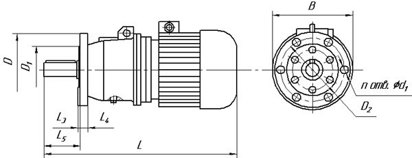
Габаритні та приєднувальні розміри мотор-редуктора 3МП 31,5 (виконання – на лапах)

| Позначення мотор-редуктора | Частота обертання вихідного валу об/хв | L | B | H | L1 | L2 | B1 | B2 | H1 | H2 | H3 | d1 |
| Не більше | ||||||||||||
| 3МП-31,5 | 180 | 590 | 250 | 247 | 86 | 130 | 155 | 190 | 100 | 15 | 25 | 15 |
Габаритні та приєднувальні розміри мотор-редуктора 3МП 31,5 (виконання - фланець)

| Позначення мотор-редуктора | Частота обертання вихідного валу об/хв | L | B | L3 | L4 | L5 | D | D1 | D2 | d2 | n |
| Не більше | |||||||||||
| 3МП-31,5 | 180 | 590 | 250 | 5 | 12 | 68 | 180 | 130 | 155 | 12 | 6 |
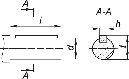
Приєднувальні розміри циліндричних валів мотор-редуктора 3МП

| Мотор-редуктор | d | l | b | t |
| 3МП-31,5 | 28k6 | 60 | 8 | 31 |
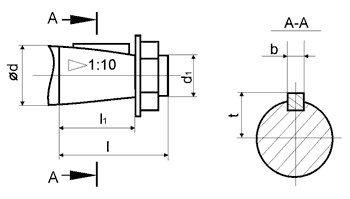
Приєднувальні розміри конічних валів мотор-редуктора 3МП

| Мотор-редуктор | d | d1 | l | l1 | b | t |
| 3МП-31,5 | 28 | М16х1,5 | 60 | 42 | 5 | 14,95 |
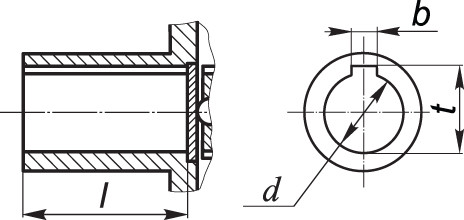
Приєднувальні розміри порожнистих валів мотор-редуктора 3МП

| Мотор-редуктор | d | l | b | t |
| 3МП-31,5 | 25Н7 | 55 | 8 | 28,1 |
Мотор редуктор 3МП-31,5 (1 ступень 180 об/мин АИР100L4)
Відгуків про цей товар ще не було.
Немає відгуків про цей товар, станьте першим, залиште свій відгук.
Немає питань про даний товар, станьте першим і задайте своє питання.