Мотор-редуктор 3МП-40 (112 об/хв, 3 кВт)
Мотор-редуктор 3МП-40 (112 об/хв, 3 кВт)
Одноступінчастий планетарний редуктор 3МП-40 (112 об/хв, 3 кВт) входить у приводи різних механізмів, крім вантажопідйомних. Він використовується для зниження швидкості веденого валу і пропорційного підвищення моменту, що крутить. Складові частини пристрою: механічний редуктор та асинхронний двигун АІР112МА6.
Планетарна передача редуктора складається із сонячної та коронної шестерні, між якими розташовані сателіти. Осі сателітів закріплені на водилі. По міжосьової відстані редуктори поділяються на типорозміри. Конструкція планетарної передачі нагадує будову Сонячної системи, де всі планети рухаються навколо Сонця, тому механізм і отримав свою назву.
Знижуючий планетарний мотор-редуктор 3МП-40 (112 об/хв, 3 кВт) має компактні розміри і важить трохи. Він показує високу ефективність роботи (ККД 97%) та дозволяє отримувати великі передатні числа. Пристрій характеризується хорошими кінематичними можливостями та рівномірним розподілом радіальних навантажень на корпус.
Умови використання мотор-редукторів 3МП-40
| Характеристика | Значення |
| Тип навантаження | Змінний, постійний |
| Режим роботи | Тривалий, з періодичними зупинками |
| Напрямок обертання тихохідного валу | Односпрямований, реверсивний |
| Температурний діапазон | Від -45 до +45 градусів |
| Кліматичне виконання | У, Т, категорія розміщення 2, 3 |
| Зовнішнє середовище | Невибухонебезпечне, неагресивне, зміст непровідного пилу не перевищує 10 мг/м3 |
Основні технічні характеристики мотор-редуктора 3МП-40 (112 об/хв, 3 кВт):
| Характеристика | Значення |
| Номінальна частота обертання вихідного валу, об/хв | 112 |
| Номінальний момент, що крутить, на вихідному валу, Н.м. | 250 |
| Комплектуючий електродвигун, марка | АІР112МА6 |
| Потужність електродвигуна, кВт | 3 |
| Допустиме радіально-консольне навантаження на вихідному валу, Н | 2400 |
| ККД редукторної частини, % | 98 |
| Маса редукторної частини, кг | 83 |
Купити мотор-редуктор 3МП-40 (112 об/хв, 3 кВт), ціна якого на 3-10% нижча за ринкову, пропонує компанія «Промпривод». Гарантія на обладнання надається на 12 місяців. Завдяки допомозі наших менеджерів, які проводять консультації телефоном та онлайн-чатом, у вас не виникнуть складнощі з вибором продукції. Для постійних клієнтів та оптових покупців діє гнучка система знижок. Доставка здійснюється по всій Україні одразу після внесення оплати.
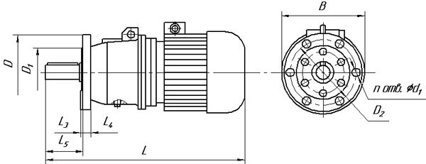
Габаритні та приєднувальні розміри мотор-редукторів 3МП-40 (виконання – на лапах)

| Позначення мотор-редуктора | Частота обертання вихідного валу, об/хв | L | B | H | L 1 | L 2 | B 1 | B 2 | H 1 | H 2 | H 3 | d1 |
| Не більше | ||||||||||||
| 3МП-40 | 112...280 | 725 | 350 | 305 | 110 | 170 | 180 | 220 | 112 | 22 | 63 | 20 |
Габаритні та приєднувальні розміри мотор-редукторів 3МП-40 (виконання - фланець)

| Позначення мотор-редуктора | Частота обертання вихідного валу, об/хв | L | B | L 3 | L 4 | L 5 | D | D 1 | D 2 | d 2 | n |
| Не більше | |||||||||||
| 3МП-40 | 112...280 | 725 | 350 | 6 | 16 | 90 | 200 | 130 | 165 | 15 | 6 |
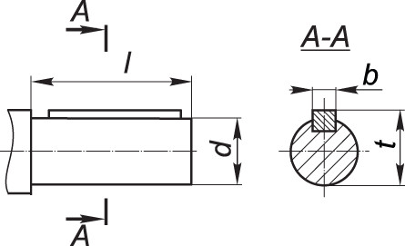
Приєднувальні розміри циліндричних валів мотор-редуктора 3МП-40

| Мотор-редуктор | d | l | b | t |
| 3МП-40 | 35k6 | 80 | 10 | 38 |
Приєднувальні розміри конічних валів мотор-редуктора 3МП-40

| Мотор-редуктор | d | D1 | 1 | 11 | b | t |
| 3МП-40 | 35 | М20х1,5 | 80 | 58 | 6 | 18,55 |
Приєднувальні розміри порожнистих валів мотор-редуктора 3МП-40

| Мотор-редуктор | d | 1 | b | t |
| 3МП-40 | 30Н7 | 70 | 8 | 33,1 |
Мотор-редуктор 3МП-40 (112 об/мин, 3 кВт)
Відгуків про цей товар ще не було.
Немає відгуків про цей товар, станьте першим, залиште свій відгук.
Немає питань про даний товар, станьте першим і задайте своє питання.