Мотор-редуктор 3МП-40 (112 об/хв, 5.5 кВт)
Мотор-редуктор 3МП-40 (112 об/хв, 5.5 кВт)
Потужний привід, здатний забезпечити високий крутний момент при невеликій швидкості обертання двигуна – це мотор-редуктор 3МП-40 (112 об/хв, 5.5 кВт). Перетворювач цього типу використовується в багатьох промислових механізмах. Їм оснащуються приводи бетономішалок, верстатів, транспортерів, конвеєрів, зрошувальних систем тощо, але для вантажопідіймального обладнання пристрій не підходить.
Дотримуючись правил експлуатації, викладених у паспорті пристрою та регламентованих ГОСТ 25484-93, можна продовжити термін експлуатації мотор-редуктора. Передавальний механізм підходить для роботи на висоті до 1000 метрів над рівнем моря. Робоче середовище не повинно бути агресивним або вибухонебезпечним, допустима концентрація непровідного пилу – до 10 мг/м3, рівень вологості – до 80%.
Планетарний мотор-редуктор 3МП-40 (112 об/хв, 5.5 кВт) можна використовувати з постійним або змінним навантаженням, яке не перевищує максимальний момент, що крутить. Вали можуть обертатися обидві сторони, передбачений реверс. Тривалість безперервної роботи – до 24 годин, але необхідно контролювати рівень нагрівання пристрою.
Умови використання мотор-редукторів 3МП-40
| Характеристика | Значення |
| Тип навантаження | Змінний, постійний |
| Режим роботи | Тривалий, з періодичними зупинками |
| Напрямок обертання тихохідного валу | Односпрямований, реверсивний |
| Температурний діапазон | Від -45 до +45 градусів |
| Кліматичне виконання | У, Т, категорія розміщення 2, 3 |
| Зовнішнє середовище | Невибухонебезпечне, неагресивне, зміст непровідного пилу не перевищує 10 мг/м3 |
Основні технічні характеристики мотор-редуктора 3МП-40 (112 об/хв, 5.5 кВт):
| Характеристика | Значення |
| Номінальна частота обертання вихідного валу, об/хв | 112 |
| Комплектуючий електродвигун, марка | АІР132Ѕ6 |
| Потужність електродвигуна, кВт | 5.5 |
| Допустиме радіально-консольне навантаження на вихідному валу, Н | 2400 |
| ККД редукторної частини, % | 98 |
| Маса редукторної частини, кг | 117 |
Бажаєте придбати якісне обладнання та заощадити гроші? Вигідна пропозиція від компанії «Промпривод» – купити мотор-редуктор 3МП-40 (112 об/хв, 5.5 кВт) за ціною на 3-10% нижчою за ринкову. На оптові замовлення передбачено знижки. Виробник надає обладнання гарантію – вона діє протягом 12 місяців.
Габаритні та приєднувальні розміри мотор-редукторів 3МП-40 (виконання – на лапах)

| Позначення мотор-редуктора | Частота обертання вихідного валу, об/хв | L | B | H | L 1 | L 2 | B 1 | B 2 | H 1 | H 2 | H 3 | d1 |
| Не більше | ||||||||||||
| 3МП-40 | 112...280 | 725 | 350 | 305 | 110 | 170 | 180 | 220 | 112 | 22 | 63 | 20 |
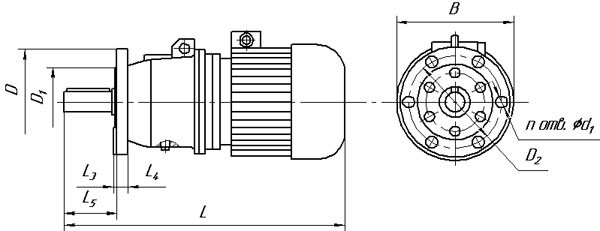
Габаритні та приєднувальні розміри мотор-редукторів 3МП-40 (виконання - фланець)

| Позначення мотор-редуктора | Частота обертання вихідного валу, об/хв | L | B | L 3 | L 4 | L 5 | D | D 1 | D 2 | d 2 | n |
| Не більше | |||||||||||
| 3МП-40 | 112...280 | 725 | 350 | 6 | 16 | 90 | 200 | 130 | 165 | 15 | 6 |
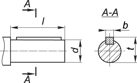
Приєднувальні розміри циліндричних валів мотор-редуктора 3МП-40

| Мотор-редуктор | d | l | b | t |
| 3МП-40 | 35k6 | 80 | 10 | 38 |
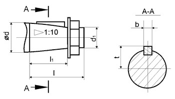
Приєднувальні розміри конічних валів мотор-редуктора 3МП-40

| Мотор-редуктор | d | D1 | 1 | 11 | b | t |
| 3МП-40 | 35 | М20х1,5 | 80 | 58 | 6 | 18,55 |
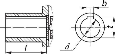
Приєднувальні розміри порожнистих валів мотор-редуктора 3МП-40

| Мотор-редуктор | d | 1 | b | t |
| 3МП-40 | 30Н7 | 70 | 8 | 33,1 |
Мотор-редуктор 3МП-40 (112 об/мин, 5.5 кВт)
Відгуків про цей товар ще не було.
Немає відгуків про цей товар, станьте першим, залиште свій відгук.
Немає питань про даний товар, станьте першим і задайте своє питання.