Мотор-редуктор 3МП-40 (12.5 об/хв, 0.37 кВт)
Мотор-редуктор 3МП-40 (12.5 об/хв, 0.37 кВт)
Триступінчастий мотор-редуктор 3МП-40 (12.5 об/хв, 0.37 кВт) призначений для комплектації приводів загальнопромислових машин різного призначення (крім вантажопідйомного обладнання). Пристрій перетворює високу кутову швидкість обертання валу в низьку, підвищує і передає крутний момент механізму. У корпусі перетворювача конструктивно об'єднані редуктор із планетарною передачею та електродвигун.
Планетарна передача редуктора складається з таких елементів;
- центрального зубчастого колеса (сонячна шестерня);
- зовнішнього зубчастого колеса (коронна шестерня);
- невеликих коліс (сателітів) чи їх груп;
- рухомого елемента, на якому зафіксовано осі сателітів (водила).
Мотор-редуктор 3МП-40 з частотою обертання вихідного валу 12.5 об/хв, укомплектований фланцевим обдувним асинхронним двигуном АІР63В2 потужністю 0.37 кВт. Корпус виготовлений із чавуну методом лиття. Перетворювач може експлуатуватися у стандартних умовах, у приміщенні або на відкритому повітрі, при температурі від -45 до +45 градусів, вологості до 80% та запиленості до 10 мг/м3.
Умови використання мотор-редукторів 3МП-40 (3 ступені, 12.5 об/хв, АІР63В4)
| Характеристика | Значення |
| Тип навантаження | Змінний, постійний |
| Режим роботи | Тривалий, з періодичними зупинками |
| Напрямок обертання тихохідного валу | Односпрямований, реверсивний |
| Температурний діапазон | Від -45 до +45 градусів |
| Кліматичне виконання | У, Т, категорія розміщення 2, 3 |
| Зовнішнє середовище | Невибухонебезпечне, неагресивне, зміст непровідного пилу не перевищує 10 мг/м3 |
Основні технічні характеристики мотор-редуктора 3МП-40 (12.5 об/хв, двигун на 0.37 кВт):
| Характеристика | Значення |
| Номінальна частота обертання вихідного валу, об/хв | 12,5 |
| Кількість ступенів | 3 |
| Комплектуючий електродвигун, марка | АІР63В4 |
| Потужність електродвигуна, кВт | 0.37 |
| Допустиме радіально-консольне навантаження на вихідному валу, Н | 4540 |
| ККД редукторної частини, % | 96 |
| Маса редукторної частини, кг | 39 |
Хочете купити мотор-редуктор 3МП-40 (12.5 об/хв, двигун на 0.37 кВт) на 3-10% дешевше за його ринкову ціну? Оформляйте замовлення на сайті компанії «Промпривод». Ви можете проконсультуватися з нашими менеджерами, щоб вибрати обладнання з відповідними параметрами. Для оптових замовників у нас діють знижки. Доставка можлива у будь-який регіон України.
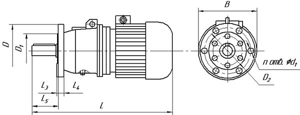
Габаритні та приєднувальні розміри мотор-редукторів 3МП-40 (виконання – на лапах)

| Позначення мотор-редуктора | Частота обертання вихідного валу, об/хв | L | B | H | L 1 | L 2 | B 1 | B 2 | H 1 | H 2 | H 3 | d1 |
| Не більше | ||||||||||||
| 3МП-40 | 3,55 16... | 500 | 224 | 247 | 110 | 170 | 180 | 220 | 112 | 22 | - | 20 |
Габаритные и присоединительные размеры мотор-редукторов 3МП-40 (исполнение - фланец)

| Позначення мотор-редуктора | Частота обертання вихідного валу, об/хв | L | B | L 3 | L 4 | L 5 | D | D 1 | D 2 | d 2 | n |
| Не більше | |||||||||||
| 3МП-40 | 3,55 16... | 500 | 224 | 6 | 16 | 90 | 200 | 130 | 165 | 15 | 6 |
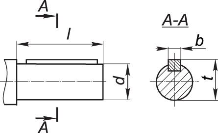
Приєднувальні розміри циліндричних валів мотор-редуктора 3МП-40

| Мотор-редуктор | d | l | b | t |
| 3МП-40 | 35k6 | 80 | 10 | 38 |
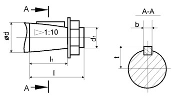
Приєднувальні розміри конічних валів мотор-редуктора 3МП-40

| Мотор-редуктор | d | D1 | 1 | 11 | b | t |
| 3МП-40 | 35 | М20х1,5 | 80 | 58 | 6 | 18,55 |
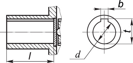
Приєднувальні розміри порожнистих валів мотор-редуктора 3МП-40

| Мотор-редуктор | d | 1 | b | t |
| 3МП-40 | 30Н7 | 70 | 8 | 33,1 |
Мотор-редуктор 3МП-40 (12.5 об/мин, 0.37 кВт)
Відгуків про цей товар ще не було.
Немає відгуків про цей товар, станьте першим, залиште свій відгук.
Немає питань про даний товар, станьте першим і задайте своє питання.