Мотор-редуктор 3МП-40 (12.5 об/хв, 0.55 кВт)
Мотор-редуктор 3МП-40 (12.5 об/хв, 0.55 кВт)
Перетворювач планетарного типу – мотор-редуктор 3МП-40 (12.5 об/хв, 0.55 кВт) – знижує кутову швидкість обертання валу двигуна, пропорційно збільшуючи момент крутіння. Передавальним механізмом комплектується більшість промислових машин та обладнання: верстати, бетономішалки, конвеєрні та транспортерні стрічки, зрошувальні установки тощо. Не підходить пристрій лише для вантажопідйомного обладнання.
Основними робочими вузлами мотор-редуктора 3МП-40 є редуктор із планетарною зубчастою передачею та електродвигун АІР71А4 потужністю 0.55 кВт. Конструкція зубчастої передачі дозволяє рівномірно розподіляти потужність, що передається між сателітами. Завдяки цьому перетворювач має компактний розмір, відносно невелику вагу та показує високу ефективність роботи (ККД 96%).
Планетарний мотор-редуктор 3МП-40 на 12.5 об/хв експлуатується за стандартних для такого обладнання умов:
- неагресивне робоче середовище;
- вологість до 80%;
- температурний діапазон від –45 до +45 градусів;
- запиленість повітря до 10 мг/м3.
Допускається експлуатація з постійним і змінним навантаженням, яке не перевищує максимальний момент, що крутить. Обертання валів – у будь-який бік, без переваг.
Умови використання мотор-редукторів 3МП-40
| Характеристика | Значення |
| Тип навантаження | Змінний, постійний |
| Режим роботи | Тривалий, з періодичними зупинками |
| Напрямок обертання тихохідного валу | Односпрямований, реверсивний |
| Температурний діапазон | Від -45 до +45 градусів |
| Кліматичне виконання | У, Т, категорія розміщення 2, 3 |
| Зовнішнє середовище | Невибухонебезпечне, неагресивне, зміст непровідного пилу не перевищує 10 мг/м3 |
Основні технічні характеристики мотор-редуктора 3МП-40 (3 ступені, 12.5 об/хв, АІР71А4):
| Характеристика | Значення |
| Номінальна частота обертання вихідного валу, об/хв | 12.5 |
| Кількість ступенів | 3 |
| Комплектуючий електродвигун, марка | АІР71А4 |
| Потужність електродвигуна, кВт | 0.55 |
| Допустиме радіально-консольне навантаження на вихідному валу, Н | 4540 |
| ККД редукторної частини, % | 96 |
| Маса редукторної частини, кг | 41 |
Купити мотор-редуктор 3МП-40 (12.5 об/хв, з двигуном 0.55 кВт) за ціною на 3-10% нижчою за ринкову цілком реально. Достатньо оформити замовлення на сайті компанії «Промпривод». Наші менеджери допоможуть вам вибрати обладнання, описавши його технічні характеристики. Замовивши продукцію оптом, ви отримаєте знижку. Гарантія надається на 12 місяців.
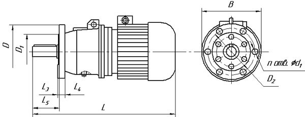
Габаритні та приєднувальні розміри мотор-редукторів 3МП-40 (виконання – на лапах)

| Позначення мотор-редуктора | Частота обертання вихідного валу, об/хв | L | B | H | L 1 | L 2 | B 1 | B 2 | H 1 | H 2 | H 3 | d1 |
| Не більше | ||||||||||||
| 3МП-40 | 3,55 16... | 500 | 224 | 247 | 110 | 170 | 180 | 220 | 112 | 22 | - | 20 |
Габаритні та приєднувальні розміри мотор-редукторів 3МП-40 (виконання - фланець)

| Позначення мотор-редуктора | Частота обертання вихідного валу, об/хв | L | B | L 3 | L 4 | L 5 | D | D 1 | D 2 | d 2 | n |
| Не більше | |||||||||||
| 3МП-40 | 3,55 16... | 500 | 224 | 6 | 16 | 90 | 200 | 130 | 165 | 15 | 6 |
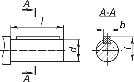
Приєднувальні розміри циліндричних валів мотор-редуктора 3МП-40

| Мотор-редуктор | d | l | b | t |
| 3МП-40 | 35k6 | 80 | 10 | 38 |
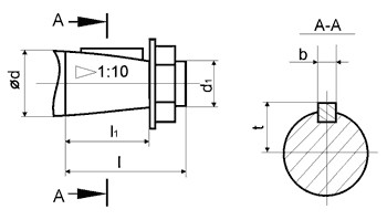
Приєднувальні розміри конічних валів мотор-редуктора 3МП-40

| Мотор-редуктор | d | D1 | 1 | 11 | b | t |
| 3МП-40 | 35 | М20х1,5 | 80 | 58 | 6 | 18,55 |
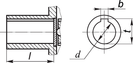
Приєднувальні розміри порожнистих валів мотор-редуктора 3МП-40

| Мотор-редуктор | d | 1 | b | t |
| 3МП-40 | 30Н7 | 70 | 8 | 33,1 |
Мотор-редуктор 3МП-40 (12.5 об/мин, 0.55 кВт)
Відгуків про цей товар ще не було.
Немає відгуків про цей товар, станьте першим, залиште свій відгук.
Немає питань про даний товар, станьте першим і задайте своє питання.