Мотор-редуктор 3МП-40 (140 об/хв, 4 кВт)
Мотор-редуктор 3МП-40 (140 об/хв, 4 кВт)
Мотор-редуктор 3МП-40 (140 об/хв, 4 кВт) – це промисловий перетворювач швидкості обертання валу в момент, що крутить. Пристрій підбирається за такими критеріями:
- обертаючий момент;
- частота обертання валів;
- характер робочого навантаження;
- конструкція валів (вхідного та вихідного);
- тривалість безперервної роботи;
- умови експлуатації.
Ця модель мотор-редуктора 3МП створена на основі одноступінчастої планетарної передачі. Пристрій оснащений двигуном АІР112МВ6 потужністю 4 кВт. Частота обертання вихідного валу – 140 об/хв, номінальний момент, що крутить, – 260 Нм. Перетворювач може поставлятися з конічними, циліндричними та порожнистими валами. Передбачено два варіанти монтажу – на фланцеве з'єднання та на лапи.
Мотор-редуктор 3МП-40 (140 об/хв, 4 кВт) підходить для експлуатації в районах з помірним та тропічним кліматом, при температурі від -45 до +45 градусів. Допустиме постійне та змінне навантаження. Безперервна робота можлива протягом 8-24 годин.
Умови використання мотор-редукторів 3МП-40
| Характеристика | Значення |
| Тип навантаження | Змінний, постійний |
| Режим роботи | Тривалий, з періодичними зупинками |
| Напрямок обертання тихохідного валу | Односпрямований, реверсивний |
| Температурний діапазон | Від -45 до +45 градусів |
| Кліматичне виконання | У, Т, категорія розміщення 2, 3 |
| Зовнішнє середовище | Невибухонебезпечне, неагресивне, зміст непровідного пилу не перевищує 10 мг/м3 |
Основні технічні характеристики двигун-редуктор 3МП-40 (140 об/хв, 4 кВт):
| Характеристика | Значення |
| Номінальна частота обертання вихідного валу, об/хв | 140 |
| Номінальний момент, що крутить, на вихідному валу, Н.м. | 260 |
| Комплектуючий електродвигун, марка | АІР112МВ6 |
| Потужність електродвигуна, кВт | 4 |
| Допустиме радіально-консольне навантаження на вихідному валу, Н | 2400 |
| ККД редукторної частини, % | 98 |
| Маса редукторної частини, кг | 78 |
Якщо вам потрібно купити мотор-редуктор 3МП-40 (140 об/хв, 4 кВт), але ви не хочете переплачувати, звертайтесь до компанії «Промпривод». Ціна на обладнання у нас на 3-10% нижча за ринкову, а оптові покупці отримують знижки. На всю продукцію надається гарантія. Більше інформації можна отримати у менеджерів, зв'язавшись із ними у чаті або по телефону.
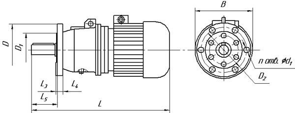
Габаритні та приєднувальні розміри мотор-редукторів 3МП-40 (виконання – на лапах)

| Позначення мотор-редуктора | Частота обертання вихідного валу, об/хв | L | B | H | L 1 | L 2 | B 1 | B 2 | H 1 | H 2 | H 3 | d1 |
| Не більше | ||||||||||||
| 3МП-40 | 112...280 | 725 | 350 | 305 | 110 | 170 | 180 | 220 | 112 | 22 | 63 | 20 |
Габаритні та приєднувальні розміри мотор-редукторів 3МП-40 (виконання - фланець)

| Позначення мотор-редуктора | Частота обертання вихідного валу, об/хв | L | B | L 3 | L 4 | L 5 | D | D 1 | D 2 | d 2 | n |
| Не більше | |||||||||||
| 3МП-40 | 112...280 | 725 | 350 | 6 | 16 | 90 | 200 | 130 | 165 | 15 | 6 |
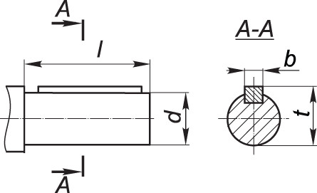
Приєднувальні розміри циліндричних валів мотор-редуктора 3МП-40

| Мотор-редуктор | d | l | b | t |
| 3МП-40 | 35k6 | 80 | 10 | 38 |
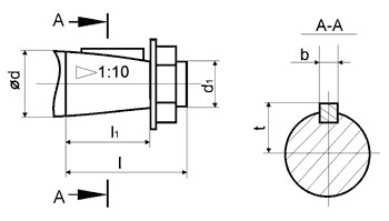
Приєднувальні розміри конічних валів мотор-редуктора 3МП-40

| Мотор-редуктор | d | D1 | 1 | 11 | b | t |
| 3МП-40 | 35 | М20х1,5 | 80 | 58 | 6 | 18,55 |
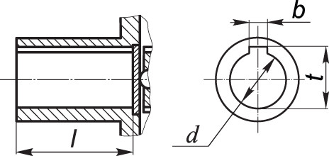
Приєднувальні розміри порожнистих валів мотор-редуктора 3МП-40

| Мотор-редуктор | d | 1 | b | t |
| 3МП-40 | 30Н7 | 70 | 8 | 33,1 |
Мотор-редуктор 3МП-40 (140 об/мин, 4 кВт)
Відгуків про цей товар ще не було.
Немає відгуків про цей товар, станьте першим, залиште свій відгук.
Немає питань про даний товар, станьте першим і задайте своє питання.