Мотор-редуктор 3МП-40 (16 об/хв, 0.37 кВт)
Мотор-редуктор 3МП-40 (16 об/хв, 0.37 кВт)
Одним із кращих представників перетворювачів планетарного типу є мотор-редуктор 3МП-40 (16 об/хв, 0.37 кВт). Його встановлюють у приводи промислових машин збільшення крутного моменту, зниження навантаження двигун і підвищення ефективності роботи механізму. Для вантажопідіймального обладнання цей тип пристроїв не підходить, а при комплектації приводів верстатів, транспортерних та конвеєрних стрічок, бурових установок, елеваторів тощо. показує чудові результати.
Основними критеріями для вибору планетарного мотор-редуктора 3МП-40 є його технічні характеристики:
- відстань між осями сателітів – 40 мм;
- частота обертання вихідного валу – 16 об/хв;
- марка та потужність двигуна – АІР63А2, 0.37 кВт;
- кількість ступенів планетарної передачі – 3.
Редуктор знижуючий планетарний 3МП40 (16 об/хв, 0.37 кВт) рекомендується встановлювати на висоті до 1000 м над рівнем моря, експлуатувати в невибухонебезпечному та неагресивному середовищі. Максимальний рівень вологості повітря – 80%, запиленості – до 10 мг/м³. Навантаження може бути постійним або змінним, одного напрямку або реверсивним. Період безперервної роботи – від 8 до 24 години.
Умови використання мотор-редукторів 3МП-40
| Характеристика | Значення |
| Тип навантаження | Змінний, постійний |
| Режим роботи | Тривалий, з періодичними зупинками |
| Напрямок обертання тихохідного валу | Односпрямований, реверсивний |
| Температурний діапазон | Від -45 до +45 градусів |
| Кліматичне виконання | У, Т, категорія розміщення 2, 3 |
| Зовнішнє середовище | Невибухонебезпечне, неагресивне, зміст непровідного пилу не перевищує 10 мг/м3 |
Основні технічні характеристики мотор-редуктора 3МП-40 (3 ступені, 16 об/хв, АІР63А2):
| Характеристика | Значення |
| Номінальна частота обертання вихідного валу, об/хв | 16 |
| Комплектуючий електродвигун, марка | АІР63А2 |
| Потужність електродвигуна, кВт | 0.37 |
| Допустиме радіально-консольне навантаження на вихідному валу, Н | 4540 |
| ККД редукторної частини, % | 96 |
| Маса редукторної частини, кг | 37 |
Щоб правильно вибрати та купити мотор-редуктор 3МП40 (16 об/хв, 0.37 кВт), звертайтесь до менеджерів компанії «Промпривод». Вони опишуть технічні параметри пристрою та допоможуть оформити замовлення. Ціна обладнання від виробника на 3-10% нижча за ринкову, протягом 12 місяців діє гарантія. Доставка здійснюється у всі регіони України, у Харкові можливе самовивезення.
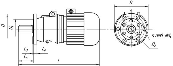
Габаритні та приєднувальні розміри мотор-редукторів 3МП-40 (виконання – на лапах)

| Позначення мотор-редуктора | Частота обертання вихідного валу, об/хв | L | B | H | L 1 | L 2 | B 1 | B 2 | H 1 | H 2 | H 3 | d1 |
| Не більше | ||||||||||||
| 3МП-40 | 3,55 16... | 500 | 224 | 247 | 110 | 170 | 180 | 220 | 112 | 22 | - | 20 |
Габаритні та приєднувальні розміри мотор-редукторів 3МП-40 (виконання - фланець)

| Позначення мотор-редуктора | Частота обертання вихідного валу, об/хв | L | B | L 3 | L 4 | L 5 | D | D 1 | D 2 | d 2 | n |
| Не більше | |||||||||||
| 3МП-40 | 3,55 16... | 500 | 224 | 6 | 16 | 90 | 200 | 130 | 165 | 15 | 6 |
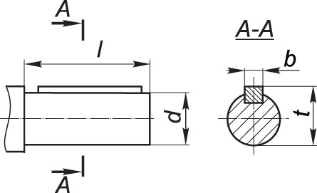
Приєднувальні розміри циліндричних валів мотор-редуктора 3МП-40

| Мотор-редуктор | d | l | b | t |
| 3МП-40 | 35k6 | 80 | 10 | 38 |
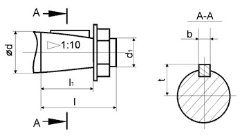
Приєднувальні розміри конічних валів мотор-редуктора 3МП-40

| Мотор-редуктор | d | D1 | 1 | 11 | b | t |
| 3МП-40 | 35 | М20х1,5 | 80 | 58 | 6 | 18,55 |
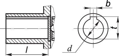
Приєднувальні розміри порожнистих валів мотор-редуктора 3МП-40

| Мотор-редуктор | d | 1 | b | t |
| 3МП-40 | 30Н7 | 70 | 8 | 33,1 |
Мотор-редуктор 3МП-40 (16 об/мин, 0.37 кВт)
Відгуків про цей товар ще не було.
Немає відгуків про цей товар, станьте першим, залиште свій відгук.
Немає питань про даний товар, станьте першим і задайте своє питання.