Мотор-редуктор 3МП-40 (18 об/хв, 0.55 кВт)
Мотор-редуктор 3МП-40 (18 об/хв, 0.55 кВт)
Для зниження швидкості обертання валу двигуна, підвищення і передачі моменту, що крутить, в приводи промислових машин встановлюється мотор-редуктор 3МП-40 (18 об/хв, 0.55 кВт). Цей пристрій став гідним конкурентом більшості імпортних перетворювачів. Передавальний механізм складається з двох робочих вузлів: редуктора з двоступінчастою планетарною передачею та асинхронного фланцевого електродвигуна АІР80В8 потужністю 0.55 кВт. Підходить для оснащення багатьох видів промислового та сільськогосподарського обладнання, за винятком вантажопідйомного.
Для стабільної роботи планетарного мотор-редуктора 3МП-40 (18 об/хв, 0.55 кВт) необхідне дотримання умов експлуатації, викладених у ГОСТ 25484-93 та паспорті пристрою:
- висота встановлення – до 1000 м над рівнем моря;
- робоче середовище – неагресивне, без вмісту вибухонебезпечних газів;
- температурний діапазон від +45 до -45 градусів;
- вологість повітря – до 80%;
- концентрація непровідного пилу – до 10 мг/м3;
- місце встановлення – у приміщенні або на відкритому повітрі під навісом.
Передавальний механізм може експлуатуватися з постійним або змінним навантаженням (односпрямованим або реверсивним). Дозволяється безперервна робота (до 24 годин за умови контролю нагріву) або періодичні зупинки. Напрямок обертання валів – обидві сторони.
Умови використання мотор-редукторів 3МП-40
| Характеристика | Значення |
| Тип навантаження | Змінний, постійний |
| Режим роботи | Тривалий, з періодичними зупинками |
| Напрямок обертання тихохідного валу | Односпрямований, реверсивний |
| Температурний діапазон | Від -45 до +45 градусів |
| Кліматичне виконання | У, Т, категорія розміщення 2, 3 |
| Зовнішнє середовище | Невибухонебезпечне, неагресивне, зміст непровідного пилу не перевищує 10 мг/м3 |
Основні технічні характеристики мотор-редуктора 3МП-40 (18 об/хв, 0.55 кВт):
| Характеристика | Значення |
| Номінальна частота обертання вихідного валу, об/хв | 18 |
| Номінальний момент, що крутить, на вихідному валу, Н.м. | 280 |
| Комплектуючий електродвигун, марка | АІР80В8 |
| Потужність електродвигуна, кВт | 0.55 |
| Допустиме радіально-консольне навантаження на вихідному валу, Н | 4200 |
| ККД редукторної частини, % | 97 |
| Маса редукторної частини, кг | 48 |
Рекомендуємо купити мотор-редуктор 3МП-40 (18 об/хв, 0.55 кВт) від компанії «Промпривод» – ціна обладнання у нас на 3-10% нижча за середньоринкову. Кожен покупець може проконсультуватися з менеджерами, зв'язавшись із ними по телефону чи чаті. Оптовим клієнтам надаються знижки. Гарантія діє протягом 12 місяців.
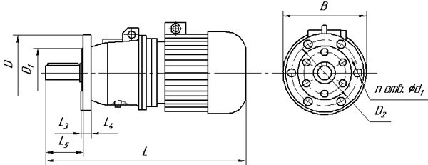
Габаритні та приєднувальні розміри мотор-редукторів 3МП-40 (виконання – на лапах)

| Позначення мотор-редуктора | Частота обертання вихідного валу, об/хв | L | B | H | L 1 | L 2 | B 1 | B 2 | H 1 | H 2 | H 3 | d1 |
| Не більше | ||||||||||||
| 3МП-40 | 18 90... | 625 | 250 | 247 | 110 | 170 | 180 | 220 | 112 | 22 | - | 20 |
Габаритні та приєднувальні розміри мотор-редукторів 3МП-40 (виконання - фланець)

| Позначення мотор-редуктора | Частота обертання вихідного валу, об/хв | L | B | L 3 | L 4 | L 5 | D | D 1 | D 2 | d 2 | n |
| Не більше | |||||||||||
| 3МП-40 | 18 90... | 625 | 250 | 6 | 16 | 90 | 200 | 130 | 165 | 15 | 6 |
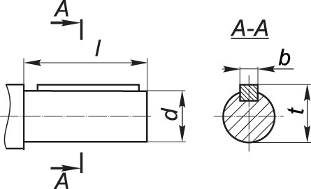
Приєднувальні розміри циліндричних валів мотор-редуктора 3МП-40

| Мотор-редуктор | d | l | b | t |
| 3МП-40 | 35k6 | 80 | 10 | 38 |
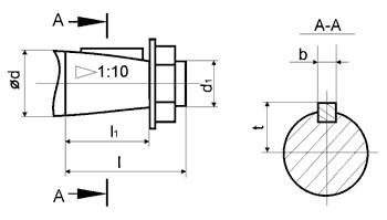
Приєднувальні розміри конічних валів мотор-редуктора 3МП-40

| Мотор-редуктор | d | D1 | 1 | 11 | b | t |
| 3МП-40 | 35 | М20х1,5 | 80 | 58 | 6 | 18,55 |
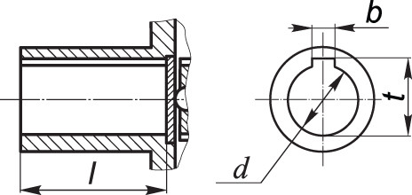
Приєднувальні розміри порожнистих валів мотор-редуктора 3МП-40-18

| Мотор-редуктор | d | 1 | b | t |
| 3МП-40 | 30Н7 | 70 | 8 | 33,1 |
Мотор-редуктор 3МП-40 (18 об/мин, 0.55 кВт)
Відгуків про цей товар ще не було.
Немає відгуків про цей товар, станьте першим, залиште свій відгук.
Немає питань про даний товар, станьте першим і задайте своє питання.