Мотор-редуктор 3МП-40 (18 об/хв, 0.75 кВт)
Мотор-редуктор 3МП-40 (18 об/хв, 0.75 кВт)
У пристроях, здатних перетворити високу швидкість обертання валу в низьку і збільшити крутний момент, потребують багато промислових механізмів. З цим завданням упорається мотор-редуктор 3МП-40 (18 об/хв, 0.75 кВт) – перетворювач, створений на основі двоступінчастої планетарної передачі. Він оснащений двигуном АІР90LA8 потужністю 0.75 кВт, частота обертання вихідного валу – 18 об/хв.
Мотор-редуктор знижуючий 3МП має компактні габарити і невелику вагу, що стало можливим завдяки конструкції планетарної передачі та рівномірному розподілу енергії, що передається між сателітами. Передбачено два варіанти монтажу – на фланцеве з'єднання та на лапи. Монтаж на лапи рекомендується для обладнання, що піддається високим вібраційним навантаженням.
Перетворювачі типу 3МП дозволяють отримувати великі передавальні числа, що відрізняються широкими кінематичними можливостями. ККД пристроїв із двоступінчастою передачею – 97%. Завдяки цільовому використанню енергії корпус не сильно нагрівається під час роботи. Передавальний механізм не вимагає дорогого ремонту, простий у обслуговуванні, має тривалий експлуатаційний термін.
Умови використання мотор-редукторів 3МП-40
| Характеристика | Значення |
| Тип навантаження | Змінний, постійний |
| Режим роботи | Тривалий, з періодичними зупинками |
| Напрямок обертання тихохідного валу | Односпрямований, реверсивний |
| Температурний діапазон | Від -45 до +45 градусів |
| Кліматичне виконання | У, Т, категорія розміщення 2, 3 |
| Зовнішнє середовище | Невибухонебезпечне, неагресивне, зміст непровідного пилу не перевищує 10 мг/м3 |
Основні технічні характеристики мотор-редуктора 3МП-40 (18 об/хв, 0.75 кВт):
| Характеристика | Значення |
| Номінальна частота обертання вихідного валу, об/хв | 18 |
| Номінальний момент, що крутить, на вихідному валу, Н.м. | 375 |
| Комплектуючий електродвигун, марка | АІР90LA8 |
| Потужність електродвигуна, кВт | 0.75 |
| Допустиме радіально-консольне навантаження на вихідному валу, Н | 4200 |
| ККД коробку частини, % | 97 |
| Маса коробку частини, кг | 53 |
Якщо ви хочете купити мотор-редуктор 3МП-40 (18 об/хв, 0.75 кВт), не переплачуючи, оформлюйте замовлення на сайті компанії «Промпривод». Ми реалізуємо обладнання за ціною на 3-10% нижче за ринкову та надаємо знижки оптовим замовникам. На всю продукцію діє гарантія (12 місяців). По території України доставка здійснюється компаніями-перевізниками, у Харкові можливе самовивезення.
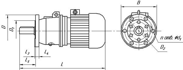
Габаритні та приєднувальні розміри мотор-редукторів 3МП-40 (виконання – на лапах)

| Позначення мотор-редуктора | Частота обертання вихідного валу, об/хв | L | B | H | L 1 | L 2 | B 1 | B 2 | H 1 | H 2 | H 3 | d1 |
| Не більше | ||||||||||||
| 3МП-40 | 18 90... | 625 | 250 | 247 | 110 | 170 | 180 | 220 | 112 | 22 | - | 20 |
Габаритні та приєднувальні розміри мотор-редукторів 3МП-40 (виконання - фланець)

| Позначення мотор-редуктора | Частота обертання вихідного валу, об/хв | L | B | L 3 | L 4 | L 5 | D | D 1 | D 2 | d 2 | n |
| Не більше | |||||||||||
| 3МП-40 | 18 90... | 625 | 250 | 6 | 16 | 90 | 200 | 130 | 165 | 15 | 6 |
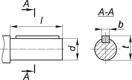
Приєднувальні розміри циліндричних валів мотор-редуктора 3МП-40

| Мотор-редуктор | d | l | b | t |
| 3МП-40 | 35k6 | 80 | 10 | 38 |
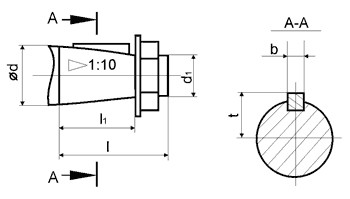
Приєднувальні розміри конічних валів мотор-редуктора 3МП-40

| Мотор-редуктор | d | D1 | 1 | 11 | b | t |
| 3МП-40 | 35 | М20х1,5 | 80 | 58 | 6 | 18,55 |
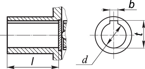
Приєднувальні розміри порожнистих валів мотор-редуктора 3МП-40

| Мотор-редуктор | d | 1 | b | t |
| 3МП-40 | 30Н7 | 70 | 8 | 33,1 |
Мотор-редуктор 3МП-40 (18 об/мин, 0.75 кВт)
Відгуків про цей товар ще не було.
Немає відгуків про цей товар, станьте першим, залиште свій відгук.
Немає питань про даний товар, станьте першим і задайте своє питання.