Мотор-редуктор 3МП-40 (18 об/хв, 0.75 кВт)
Мотор-редуктор 3МП-40 (18 об/хв, 0.75 кВт)
Основні причини, через які мотор-редуктор 3МП-40 (18 об/хв, 0.75 кВт) широко використовується у сфері промисловості – простота конструкції, надійність та недороге обслуговування. Перетворювач вітчизняного виробництва успішно конкурує із імпортним обладнанням. Пристрій є об'єднані в моноблоці редуктор з планетарною двоступінчастою передачею і асинхронний двигун АІР80А6 потужністю 0.75 кВт.
Крім високого ККД (97%), планетарний мотор-редуктор 3МП-40 характеризується великим діапазоном передавальних чисел і хорошими кінематичними можливостями. До плюсів можна віднести тривалий інтервал безперервної роботи (8-24 години), невеликий нагрівання корпусу, надійність та ремонтопридатність.
Гарантією тривалої служби перетворювача 3МП є дотримання умов експлуатації:
- встановлення на висоті до 1000 м над рівнем моря;
- неагресивне середовище без вибухонебезпечних газів;
- температура від -45 до +45 градусів;
- вологість – до 80%;
- запиленість повітря – до 10 мг/м3.
Допустиме постійне та змінне навантаження в межах крутного моменту, обертання валів в обидві сторони.
Умови використання мотор-редукторів 3МП-40
| Характеристика | Значення |
| Тип навантаження | Змінний, постійний |
| Режим роботи | Тривалий, з періодичними зупинками |
| Напрямок обертання тихохідного валу | Односпрямований, реверсивний |
| Температурний діапазон | Від -45 до +45 градусів |
| Кліматичне виконання | У, Т, категорія розміщення 2, 3 |
| Зовнішнє середовище | Невибухонебезпечне, неагресивне, зміст непровідного пилу не перевищує 10 мг/м3 |
Технічні характеристики мотор-редуктора 3МП-40 (2 ступені, 18 об/хв, АІР80А6):
| Характеристика | Значення |
| Номінальна частота обертання вихідного валу, об/хв | 18 |
| Кількість ступенів | 2 |
| Комплектуючий електродвигун, марка | АІР80А6 |
| Потужність електродвигуна, кВт | 0.75 |
| Допустиме радіально-консольне навантаження на вихідному валу, Н | 4200 |
| ККД редукторної частини, % | 97 |
| Маса редукторної частини, кг | 50 |
Компанія «Промпривод» надає можливість купити мотор-редуктор 3МП-40 (18 об/хв, з двигуном 0.75 кВт) за ціною на 3-10% нижчою від середньоринкової. Крім того, ми надаємо знижки на оптові замовлення. Гарантія на обладнання діє протягом 12 місяців. Доставка по всій Україні – транспортними компаніями, для мешканців Харкова можливе самовивезення.
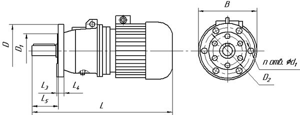
Габаритні та приєднувальні розміри мотор-редукторів 3МП-40 (виконання – на лапах)

| Позначення мотор-редуктора | Частота обертання вихідного валу, об/хв | L | B | H | L 1 | L 2 | B 1 | B 2 | H 1 | H 2 | H 3 | d1 |
| Не більше | ||||||||||||
| 3МП-40 | 18 90... | 625 | 250 | 247 | 110 | 170 | 180 | 220 | 112 | 22 | - | 20 |
Габаритні та приєднувальні розміри мотор-редукторів 3МП-40 (виконання - фланець)

| Позначення мотор-редуктора | Частота обертання вихідного валу, об/хв | L | B | L 3 | L 4 | L 5 | D | D 1 | D 2 | d 2 | n |
| Не більше | |||||||||||
| 3МП-40 | 18 90... | 625 | 250 | 6 | 16 | 90 | 200 | 130 | 165 | 15 | 6 |
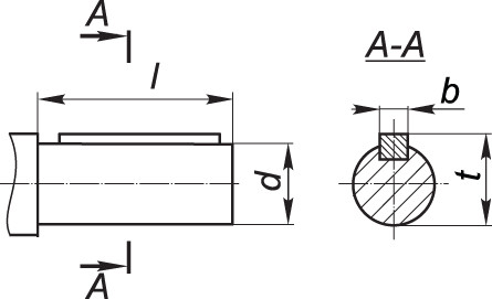
Приєднувальні розміри циліндричних валів мотор-редуктора 3МП-40

| Мотор-редуктор | d | l | b | t |
| 3МП-40 | 35k6 | 80 | 10 | 38 |
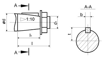
Приєднувальні розміри валів конічних мотор-редуктора 3МП-40

| Мотор-редуктор | d | D1 | 1 | 11 | b | t |
| 3МП-40 | 35 | М20х1,5 | 80 | 58 | 6 | 18,55 |
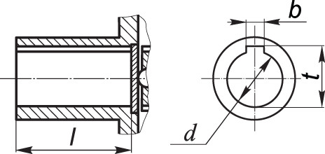
Приєднувальні розміри порожнистих валів мотор-редуктора 3МП-40

| Мотор-редуктор | d | 1 | b | t |
| 3МП-40 | 30Н7 | 70 | 8 | 33,1 |
Мотор-редуктор 3МП-40 (18 об/мин, 0.75 кВт)
Відгуків про цей товар ще не було.
Немає відгуків про цей товар, станьте першим, залиште свій відгук.
Немає питань про даний товар, станьте першим і задайте своє питання.