Мотор-редуктор 3МП-40 (180 об/хв, 5.5 кВт)
Мотор-редуктор 3МП-40 (180 об/хв, 5.5 кВт)
Мотор-редуктор 3МП-40 (180 об/хв, 5.5 кВт) – один із найкращих вітчизняних передавальних механізмів планетарного типу. Він збільшує момент, що крутить, знижуючи при цьому кутову швидкість обертання вала двигуна. Низька матеріаломісткість пристрою, простота його конструкції та висока ефективність роботи забезпечили високий попит у сфері промисловості та сільського господарства.
Планетарні мотор-редуктори 3МП підходять для встановлення в приводи верстатів, транспортерів, конвеєрних стрічок, зерносушарок, зрошувальних установок та багатьох інших машин, за винятком вантажопідйомних механізмів.
Широка сфера застосування – не єдина перевага перетворювачів. Їх характерний високий ККД (98% для даної моделі), великий діапазон передавальних чисел, стійкість до навантажень, простий монтаж і нескладне обслуговування. Корпус, виготовлений із чавуну методом лиття, гарантує надійний захист внутрішніх деталей та забезпечує довговічність конструкції.
Умови використання мотор-редукторів 3МП-40
| Характеристика | Значення |
| Тип навантаження | Змінний, постійний |
| Режим роботи | Тривалий, з періодичними зупинками |
| Напрямок обертання тихохідного валу | Односпрямований, реверсивний |
| Температурний діапазон | Від -45 до +45 градусів |
| Кліматичне виконання | У, Т, категорія розміщення 2, 3 |
| Зовнішнє середовище | Невибухонебезпечне, неагресивне, вміст непровідного пилу не перевищує 10 мг/м3 |
Основні технічні характеристики мотор-редуктора 3МП-40 (180 об/хв, 5.5 кВт):
| Характеристика | Значення |
| Номінальна частота обертання вихідного валу, об/хв | 180 |
| Номінальний момент, що крутить, на вихідному валу, Н.м. | 235 |
| Комплектуючий електродвигун, марка | АІР112М4 |
| Потужність електродвигуна, кВт | 5.5 |
| Допустиме радіально-консольне навантаження на вихідному валу, Н | 2400 |
| ККД редукторної частини, % | 98 |
| Маса редукторної частини, кг | 80 |
Хочете купити мотор-редуктор 3МП-40 (180 об/хв, 5.5 кВт) на 3-10% дешевше за його ринкову вартість? Компанія «Промпривод» реалізує обладнання за доступною ціною, а також надає знижки для оптових покупців. Гарантія діє протягом 12 місяців. Замовлення доставляються по всій території України, для мешканців Харкова можливе самовивезення.
Габаритні та приєднувальні розміри мотор-редукторів 3МП-40 (виконання – на лапах)

| Позначення мотор-редуктора | Частота обертання вихідного валу, об/хв | L | B | H | L 1 | L 2 | B 1 | B 2 | H 1 | H 2 | H 3 | d1 |
| Не більше | ||||||||||||
| 3МП-40 | 112...280 | 725 | 350 | 305 | 110 | 170 | 180 | 220 | 112 | 22 | 63 | 20 |
Габаритні та приєднувальні розміри мотор-редукторів 3МП-40 (виконання - фланець)

| Позначення мотор-редуктора | Частота обертання вихідного валу, об/хв | L | B | L 3 | L 4 | L 5 | D | D 1 | D 2 | d 2 | n |
| Не більше | |||||||||||
| 3МП-40 | 112...280 | 725 | 350 | 6 | 16 | 90 | 200 | 130 | 165 | 15 | 6 |
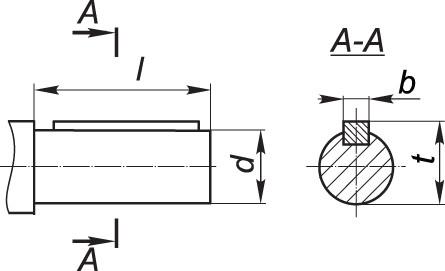
Приєднувальні розміри циліндричних валів мотор-редуктора 3МП-40

| Мотор-редуктор | d | l | b | t |
| 3МП-40 | 35k6 | 80 | 10 | 38 |
Приєднувальні розміри конічних валів мотор-редуктора 3МП-40

| Мотор-редуктор | d | D1 | 1 | 11 | b | t |
| 3МП-40 | 35 | М20х1,5 | 80 | 58 | 6 | 18,55 |
Приєднувальні розміри порожнистих валів мотор-редуктора 3МП-40

| Мотор-редуктор | d | 1 | b | t |
| 3МП-40 | 30Н7 | 70 | 8 | 33,1 |
Мотор-редуктор 3МП-40 (180 об/мин, 5.5 кВт)
Відгуків про цей товар ще не було.
Немає відгуків про цей товар, станьте першим, залиште свій відгук.
Немає питань про даний товар, станьте першим і задайте своє питання.