Мотор-редуктор 3МП-40 (22.4 об/хв, 0.55 кВт)
Мотор-редуктор 3МП-40 (22.4 об/хв, 0.55 кВт)
Мотор-редуктор 3МП-40 (22.4 об/хв, 0.55 кВт) має великий попит завдяки ефективності роботи та простому обслуговуванню. Пристрої перетворюють високу швидкість обертання валу двигуна, підвищуючи момент, що крутить. Перетворювачем оснащуються приводи різних механізмів: елеваторів, конвеєрних та транспортерних стрічок, зрошувальних установок, бетономішалок, верстатів тощо.
Корпус мотор-редуктора 3МП-40 виготовляється із чавуну методом лиття. Міцний матеріал забезпечує стійкість до ударних навантажень. Двигун АІР71В6, який оснащений перетворювачем, має потужність 0.55 кВт. Частота обертання вихідного валу цієї моделі 22.4 об/хв, номінальний крутний момент – 225 Нм.
Перед початком роботи планетарний мотор-редуктор 3МП-40 і механізм, що наводиться, повинні бути встановлені на твердій підставі, що забезпечує незмінність їх взаємного розташування. При з'єднанні передавального механізму та робочої машини їх вали центруються. Перший запуск обладнання має бути без навантаження.
Умови використання мотор-редукторів 3МП-40 (2 ступені, 22.4 об/хв, АІР71В6)
| Характеристика | Значення |
| Тип навантаження | Змінний, постійний |
| Режим роботи | Тривалий, з періодичними зупинками |
| Напрямок обертання тихохідного валу | Односпрямований, реверсивний |
| Температурний діапазон | Від -45 до +45 градусів |
| Кліматичне виконання | У, Т, категорія розміщення 2, 3 |
| Зовнішнє середовище | Невибухонебезпечне, неагресивне, зміст непровідного пилу не перевищує 10 мг/м3 |
Основні технічні характеристики мотор-редуктора 3МП-40 (22.4 об/хв, 0.55 кВт):
| Характеристика | Значення |
| Номінальна частота обертання вихідного валу, об/хв | 22.4 |
| Номінальний момент, що крутить, на вихідному валу, Н.м. | 225 |
| Комплектуючий електродвигун, марка | АІР71В6 |
| Потужність електродвигуна, кВт | 0.55 |
| Допустиме радіально-консольне навантаження на вихідному валу, Н | 4200 |
| ККД редукторної частини, % | 97 |
| Маса редукторної частини, кг | 47 |
Купити мотор-редуктор 3МП-40 (22.4 об/хв, 0.55 кВт) на 3-10% дешевше середньоринкової вартості цілком реально. Компанія «Промпривод» не лише реалізує обладнання за доступною ціною, а й надає знижки оптовим покупцям. На продукцію протягом 12 місяців діє гарантія. Доставка здійснюється по всій території України.
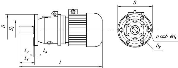
Габаритні та приєднувальні розміри мотор-редукторів 3МП-40 (виконання – на лапах)

| Позначення мотор-редуктора | Частота обертання вихідного валу, об/хв | L | B | H | L 1 | L 2 | B 1 | B 2 | H 1 | H 2 | H 3 | d1 |
| Не більше | ||||||||||||
| 3МП-40 | 18 90... | 625 | 250 | 247 | 110 | 170 | 180 | 220 | 112 | 22 | - | 20 |
Габаритні та приєднувальні розміри мотор-редукторів 3МП-40 (виконання - фланець)

| Позначення мотор-редуктора | Частота обертання вихідного валу, об/хв | L | B | L 3 | L 4 | L 5 | D | D 1 | D 2 | d 2 | n |
| Не більше | |||||||||||
| 3МП-40 | 18 90... | 625 | 250 | 6 | 16 | 90 | 200 | 130 | 165 | 15 | 6 |
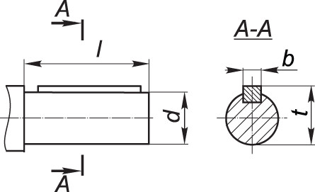
Приєднувальні розміри циліндричних валів мотор-редуктора 3МП-40

| Мотор-редуктор | d | l | b | t |
| 3МП-40 | 35k6 | 80 | 10 | 38 |
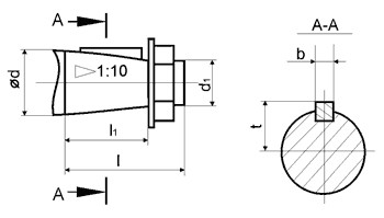
Приєднувальні розміри конічних валів мотор-редуктора 3МП-40

| Мотор-редуктор | d | D1 | 1 | 11 | b | t |
| 3МП-40 | 35 | М20х1,5 | 80 | 58 | 6 | 18,55 |
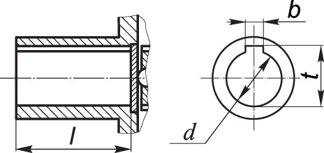
Приєднувальні розміри порожнистих валів мотор-редуктора 3МП-40

| Мотор-редуктор | d | 1 | b | t |
| 3МП-40 | 30Н7 | 70 | 8 | 33,1 |
Мотор-редуктор 3МП-40 (22.4 об/мин, 0.55 кВт)
Відгуків про цей товар ще не було.
Немає відгуків про цей товар, станьте першим, залиште свій відгук.
Немає питань про даний товар, станьте першим і задайте своє питання.