Мотор-редуктор 3МП-40 (224 об/хв, 5.5 кВт)
Мотор-редуктор 3МП-40 (224 об/хв, 5.5 кВт)
Як привод для тихохідного промислового обладнання використовується мотор-редуктор 3МП-40 (224 об/хв, 5.5 кВт). Цей пристрій об'єднує в моноблоці механічний одноступеневий планетарний редуктор і асинхронний електродвигун серії АІР. Планетарна передача має особливу конструкцію - її елементи знаходяться в постійному взаємному зачепленні, а потужність, що передається, рівномірно розподіляється між ними.
Планетарний мотор-редуктор 3МП-40 (224 об/хв, 5.5 кВт) має багато переваг перед черв'ячними та циліндричними перетворювачами. У перших він виграє за коефіцієнтом корисної дії, який становить 98%, у других – завдяки компактності та невеликій вазі.
Стабільна робота мотор-редуктора 3МП можлива за таких умов:
- висота над рівнем моря – до 1000 м;
- неагресивне середовище без вибухонебезпечних газів;
- вологість повітря – до 80%;
- температура – від -45 до +45 градусів;
- рівень запиленості – до 10 мг/м3;
- навантаження - постійне, змінне, в межах крутного моменту;
- обертання валів – обидві сторони.
Можлива безперервна робота протягом 24 годин, але необхідно контролювати нагрівання корпусу.
Умови використання мотор-редукторів 3МП-40
| Характеристика | Значення |
| Тип навантаження | Змінний, постійний |
| Режим роботи | Тривалий, з періодичними зупинками |
| Напрямок обертання тихохідного валу | Односпрямований, реверсивний |
| Температурний діапазон | Від -45 до +45 градусів |
| Кліматичне виконання | У, Т, категорія розміщення 2, 3 |
| Зовнішнє середовище | Невибухонебезпечне, неагресивне, вміст непровідного пилу не перевищує 10 мг/м3 |
Основні технічні характеристики мотор-редуктора 3МП-40 (224 об/хв, 5.5 кВт):
| Характеристика | Значення |
| Номінальна частота обертання вихідного валу, об/хв | 224 |
| Номінальний момент, що крутить, на вихідному валу, Н.м. | 230 |
| Комплектуючий електродвигун, марка | АІР112М4 |
| Потужність електродвигуна, кВт | 5.5 |
| Допустиме радіально-консольне навантаження на вихідному валу, Н | 2400 |
| ККД редукторної частини, % | 98 |
| Маса редукторної частини, кг | 83 |
На сайті компанії «Промпривод» ви можете купити мотор-редуктор 3МП-40 (224 об/хв, 5.5 кВт) на 3-10% дешевше за його ринкову вартість, а також отримати гарантію на обладнання, що діє протягом 12 місяців. Передбачено систему знижок для оптових клієнтів. Доставимо ваше замовлення до будь-якого населеного пункту України, а для мешканців Харкова можливе самовивезення.
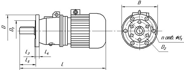
Габаритні і приєднувальні розміри мотор-редукторів 3МП-40 (виконання - на лапах)

| Позначення мотор-редуктора | Частота обертання вихідного валу, об/хв | L | B | H | L 1 | L 2 | B 1 | B 2 | H 1 | H 2 | H 3 | d1 |
| Не більше | ||||||||||||
| 3МП-40 | 112...280 | 725 | 350 | 305 | 110 | 170 | 180 | 220 | 112 | 22 | 63 | 20 |
Габаритні і приєднувальні розміри мотор-редукторів 3МП-40 (виконання - фланець)

| Позначення мотор-редуктора | Частота обертання вихідного валу, об/хв | L | B | L 3 | L 4 | L 5 | D | D 1 | D 2 | d 2 | n |
| Не більше | |||||||||||
| 3МП-40 | 112...280 | 725 | 350 | 6 | 16 | 90 | 200 | 130 | 165 | 15 | 6 |
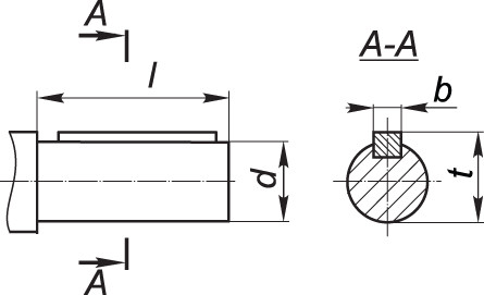
Приєднувальні розміри циліндричних валів мотор-редуктора 3МП-40

| Мотор-редуктор | d | l | b | t |
| 3МП-40 | 35k6 | 80 | 10 | 38 |
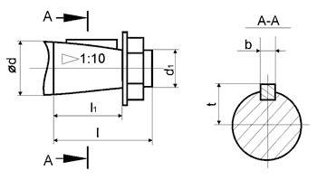
Приєднувальні розміри валів конічних мотор-редуктора 3МП-40

| Мотор-редуктор | d | D1 | 1 | 11 | b | t |
| 3МП-40 | 35 | М20х1,5 | 80 | 58 | 6 | 18,55 |
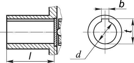
Приєднувальні розміри порожнистих валів мотор-редуктора 3МП-40

| Мотор-редуктор | d | 1 | b | t |
| 3МП-40 | 30Н7 | 70 | 8 | 33,1 |
Мотор-редуктор 3МП-40 (224 об/мин, 5.5 кВт)
Відгуків про цей товар ще не було.
Немає відгуків про цей товар, станьте першим, залиште свій відгук.
Немає питань про даний товар, станьте першим і задайте своє питання.