Мотор-редуктор 3МП-40 (28 об/хв, 0.75 кВт)
Мотор-редуктор 3МП-40 (28 об/хв, 0.75 кВт)
Для синхронізації кутових швидкостей обертання валів двигуна та виконавчого механізму використовується мотор-редуктор 3МП-40 (28 об/хв, 0.75 кВт). Пристрій підвищує момент, що крутить, знижуючи навантаження на двигун. В результаті робота обладнання стає ефективнішою.
Редуктор, який входить до конструкції перетворювача, створений на основі двоступінчастої планетарної передачі. Механізм складається із зубчастих коліс кількох видів – коронної шестерні, сонячної шестерні, сателітів. Осі сателітів закріплюються на воділі – рухомому елементі, що забезпечує роботу системи. Передана потужність розподіляється між усіма сателітами, що дозволило зменшити габарити планетарної передачі. Завдяки компактності мотор-редуктор 3МП-40 (28 об/хв, 0.75 кВт) може встановлюватись у приводи пристроїв, до розміру та ваги яких висуваються суворі вимоги.
Умови використання мотор-редукторів 3МП-40
| Характеристика | Значення |
| Тип навантаження | Змінний, постійний |
| Режим роботи | Тривалий, з періодичними зупинками |
| Напрямок обертання тихохідного валу | Односпрямований, реверсивний |
| Температурний діапазон | Від -45 до +45 градусів |
| Кліматичне виконання | У, Т, категорія розміщення 2, 3 |
| Зовнішнє середовище | Невибухонебезпечне, неагресивне, зміст непровідного пилу не перевищує 10 мг/м3 |
Основні технічні характеристики двигун-редуктор 3МП-40 (28 об/хв, 0.75 кВт):
| Характеристика | Значення |
| Номінальна частота обертання вихідного валу, об/хв | 28 |
| Номінальний момент, що крутить, на вихідному валу, Н.м. | 250 |
| Комплектуючий електродвигун, марка | АІР80А6 |
| Потужність електродвигуна, кВт | 0.75 |
| Допустиме радіально-консольне навантаження на вихідному валу, Н | 4200 |
| ККД редукторної частини, % | 97 |
| Маса редукторної частини, кг | 50 |
Щоб купити мотор-редуктор 3МП-40 (28 об/хв, 0.75 кВт), оформлюйте замовлення на сайті компанії «Промпривод» або за телефоном. Менеджери нададуть безкоштовну консультацію, описавши технічні параметри пристроїв та умови покупки. Ціна обладнання у нас на 3-10% нижча, ніж у середньому по ринку. Оптові замовники одержують знижки. Гарантія надається на 12 місяців.
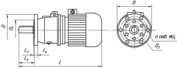
Габаритні і приєднувальні розміри мотор-редукторів 3МП-40 (виконання - на лапах)

| Позначення мотор-редуктора | Частота обертання вихідного валу, об/хв | L | B | H | L 1 | L 2 | B 1 | B 2 | H 1 | H 2 | H 3 | d1 |
| Не більше | ||||||||||||
| 3МП-40 | 18 90... | 625 | 250 | 247 | 110 | 170 | 180 | 220 | 112 | 22 | - | 20 |
Габаритні і приєднувальні розміри мотор-редукторів 3МП-40 (виконання - фланець)

| Позначення мотор-редуктора | Частота обертання вихідного валу, об/хв | L | B | L 3 | L 4 | L 5 | D | D 1 | D 2 | d 2 | n |
| Не більше | |||||||||||
| 3МП-40 | 18 90... | 625 | 250 | 6 | 16 | 90 | 200 | 130 | 165 | 15 | 6 |
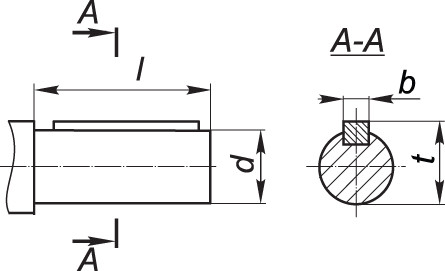
Приєднувальні розміри циліндричних валів мотор-редуктора 3МП-40

| Мотор-редуктор | d | l | b | t |
| 3МП-40 | 35k6 | 80 | 10 | 38 |
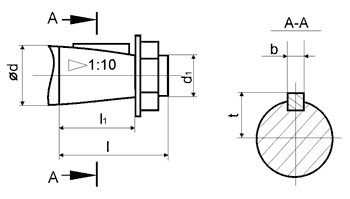
Приєднувальні розміри валів конічних мотор-редуктора 3МП-40

| Мотор-редуктор | d | D1 | 1 | 11 | b | t |
| 3МП-40 | 35 | М20х1,5 | 80 | 58 | 6 | 18,55 |
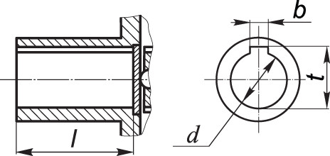
Приєднувальні розміри порожнистих валів мотор-редуктора 3МП-40

| Мотор-редуктор | d | 1 | b | t |
| 3МП-40 | 30Н7 | 70 | 8 | 33,1 |
Мотор-редуктор 3МП-40 (28 об/мин, 0.75 кВт)
Відгуків про цей товар ще не було.
Немає відгуків про цей товар, станьте першим, залиште свій відгук.
Немає питань про даний товар, станьте першим і задайте своє питання.