Мотор-редуктор 3МП-40 (28 об/хв, 1.5 кВт)
Мотор-редуктор 3МП-40 (28 об/хв, 1.5 кВт)
Як перетворювач крутного моменту в приводах багатьох промислових машин використовують мотор-редуктор 3МП-40 (28 об/хв, 1.5 кВт). Це передавальний механізм, створений на основі редуктора з двоступінчастою планетарною передачею та двигуном АІР90L6 потужністю 1.5 кВт. Обидва пристрої об'єднані в корпусі з литого чавуну. Частота обертання вихідного валу цієї моделі – 28 об/хв, ККД – 97%.
Планетарний мотор-редуктор 3МП-40 (28 об/хв, 1,5 кВт) випускається у двох варіантах кліматичного виконання: для районів з помірним (П) та тропічним (Т) кліматом. Монтується пристрій за допомогою фланцевого з'єднання або лапи. Передбачено кілька варіантів збирання з різним розташуванням заливного, зливного та контрольного отворів.
Перетворювачі типу 3МП здатні забезпечити високий крутний момент, що дозволяють отримувати великі передатні числа. Пристрої характеризуються хорошими кінематичними можливостями та ефективною роботою. Вони прості в обслуговуванні - досить періодичного мастила деталей, що труться, регулювання або заміни підшипників при необхідності. У разі виникнення неполадок не буде потрібно дорогого ремонту.
Умови використання мотор-редукторів 3МП-40
| Характеристика | Значення |
| Тип навантаження | Змінний, постійний |
| Режим роботи | Тривалий, з періодичними зупинками |
| Напрямок обертання тихохідного валу | Односпрямований, реверсивний |
| Температурний діапазон | Від -45 до +45 градусів |
| Кліматичне виконання | У, Т, категорія розміщення 2, 3 |
| Зовнішнє середовище | Невибухонебезпечне, неагресивне, зміст непровідного пилу не перевищує 10 мг/м3 |
Основні технічні характеристики двигун-редуктора 3МП-40 (28 об/хв, 1.5 кВт):
| Характеристика | Значення |
| Номінальна частота обертання вихідного валу, об/хв | 28 |
| Комплектуючий електродвигун, марка | АІР90L6 |
| Потужність електродвигуна, кВт | 1.5 |
| Допустиме радіально-консольне навантаження на вихідному валу, Н | 4200 |
| ККД редукторної частини, % | 97 |
| Маса редукторної частини, кг | 57 |
Ви можете купити мотор-редуктор 3МП-40 (28 об/хв, 1.5 кВт) на 3-10% дешевше за його ринкову вартість. Устаткування за вигідною ціною пропонує компанія «Промпривод». Окрім того, діють знижки для оптових замовників. Гарантія надається на 12 місяців. Доставка можлива по всій території України.
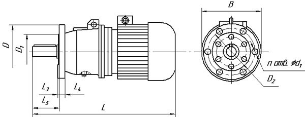
Габаритні і приєднувальні розміри мотор-редукторів 3МП-40 (виконання - на лапах)

| Позначення мотор-редуктора | Частота обертання вихідного валу, об/хв | L | B | H | L 1 | L 2 | B 1 | B 2 | H 1 | H 2 | H 3 | d1 |
| Не більше | ||||||||||||
| 3МП-40 | 18 90... | 625 | 250 | 247 | 110 | 170 | 180 | 220 | 112 | 22 | - | 20 |
Габаритні і приєднувальні розміри мотор-редукторів 3МП-40 (виконання - фланець)

| Позначення мотор-редуктора | Частота обертання вихідного валу, об/хв | L | B | L 3 | L 4 | L 5 | D | D 1 | D 2 | d 2 | n |
| Не більше | |||||||||||
| 3МП-40 | 18 90... | 625 | 250 | 6 | 16 | 90 | 200 | 130 | 165 | 15 | 6 |
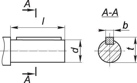
Приєднувальні розміри циліндричних валів мотор-редуктора 3МП-40

| Мотор-редуктор | d | l | b | t |
| 3МП-40 | 35k6 | 80 | 10 | 38 |
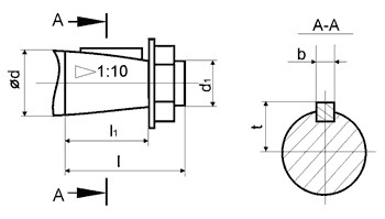
Приєднувальні розміри валів конічних мотор-редуктора 3МП-40

| Мотор-редуктор | d | D1 | 1 | 11 | b | t |
| 3МП-40 | 35 | М20х1,5 | 80 | 58 | 6 | 18,55 |
Приєднувальні розміри порожнистих валів мотор-редуктора 3МП-40

| Мотор-редуктор | d | 1 | b | t |
| 3МП-40 | 30Н7 | 70 | 8 | 33,1 |
Мотор-редуктор 3МП-40 (28 об/мин, 1.5 кВт)
Відгуків про цей товар ще не було.
Немає відгуків про цей товар, станьте першим, залиште свій відгук.
Немає питань про даний товар, станьте першим і задайте своє питання.