Мотор-редуктор 3МП-40 (280 об/хв, 11 кВт)
Мотор-редуктор 3МП-40 (280 об/хв, 11 кВт)
Великий попит у сфері промисловості та сільського господарства має планетарний мотор-редуктор. 3МП-40 (280 об/хв, 11 кВт). Цей пристрій використовується як перетворювач кутової швидкості веденого валу. Воно збільшує крутний момент і передає його механізму.
Популярність мотор-редукторів 3МП пояснюється їх перевагами над іншими типами механізмів передавання. У пристрої використовується одноступенева планетарна передача. Потужність електродвигуна, що приєднується – 11 кВт. Частота обертання вихідного валу – 280 об/хв.
Планетарні перетворювачі типу 3МП компактні та мають невелику вагу. Їх можна монтувати за допомогою фланцевого з'єднання та на лапи. Завдяки двом кліматичним виконанням (П та Т) мотор-редуктор 3МП-40 на 280 об/хв може експлуатуватися в регіонах з помірним та тропічним кліматом при температурі від -45 до +45 градусів. ККД цієї моделі дорівнює 98%.
Умови використання мотор-редукторів 3МП-40
| Характеристика | Значення |
| Тип навантаження | Змінний, постійний |
| Режим роботи | Тривалий, з періодичними зупинками |
| Напрямок обертання тихохідного валу | Односпрямований, реверсивний |
| Температурний діапазон | Від -45 до +45 градусів |
| Кліматичне виконання | У, Т, категорія розміщення 2, 3 |
| Зовнішнє середовище | Невибухонебезпечне, неагресивне, вміст непровідного пилу не перевищує 10 мг/м3 |
Основні технічні характеристики одноступінчастого мотор-редуктора 3МП-40 (280 об/хв, 11 кВт):
| Характеристика | Значення |
| Номінальна частота обертання вихідного валу, об/хв | 280 |
| Номінальний момент, що крутить, на вихідному валу, Н.м. | 375 |
| Комплектуючий електродвигун, марка | АІР132М4 |
| Потужність електродвигуна, кВт | 11 |
| Допустиме радіально-консольне навантаження на вихідному валу, Н | 2400 |
| ККД редукторної частини, % | 98 |
| Маса редукторної частини, кг | 120 |
Купити мотор-редуктор 3МП-40 (280 об/хв, 11 кВт) можна за ціною на 3-10% нижче за ринкову. Таку можливість надає своїм клієнтам компанія "Промпривод". Виробник надає на обладнання річну гарантію, забезпечує доставку замовлень у будь-який регіон України. Для постійних клієнтів та оптових покупців діє гнучка система знижок. Вся продукція постачається після попередньої перевірки у ВТК.
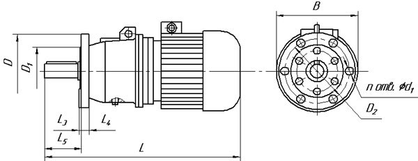
Габаритні та приєднувальні розміри мотор-редукторів 3МП-40 (виконання – на лапах)

| Позначення мотор-редуктора | Частота обертання вихідного валу, об/хв | L | B | H | L 1 | L 2 | B 1 | B 2 | H 1 | H 2 | H 3 | d1 |
| Не більше | ||||||||||||
| 3МП-40 | 112...280 | 725 | 350 | 305 | 110 | 170 | 180 | 220 | 112 | 22 | 63 | 20 |
Габаритні та приєднувальні розміри мотор-редукторів 3МП-40 (виконання - фланець)

| Позначення мотор-редуктора | Частота обертання вихідного валу, об/хв | L | B | L 3 | L 4 | L 5 | D | D 1 | D 2 | d 2 | n |
| Не більше | |||||||||||
| 3МП-40 | 112...280 | 725 | 350 | 6 | 16 | 90 | 200 | 130 | 165 | 15 | 6 |
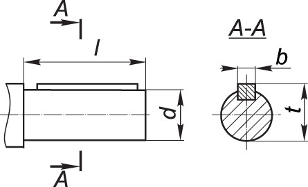
Приєднувальні розміри циліндричних валів мотор-редуктора 3МП-40

| Мотор-редуктор | d | l | b | t |
| 3МП-40 | 35k6 | 80 | 10 | 38 |
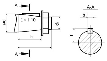
Приєднувальні розміри конічних валів мотор-редуктора 3МП-40

| Мотор-редуктор | d | D1 | 1 | 11 | b | t |
| 3МП-40 | 35 | М20х1,5 | 80 | 58 | 6 | 18,55 |
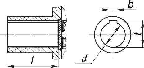
Приєднувальні розміри порожнистих валів мотор-редуктора 3МП-40

| Мотор-редуктор | d | 1 | b | t |
| 3МП-40 | 30Н7 | 70 | 8 | 33,1 |
Мотор-редуктор 3МП-40 (280 об/мин, 11 кВт)
Відгуків про цей товар ще не було.
Немає відгуків про цей товар, станьте першим, залиште свій відгук.
Немає питань про даний товар, станьте першим і задайте своє питання.