Мотор-редуктор 3МП-40 (280 об/хв, 7.5 кВт)
Мотор-редуктор 3МП-40 (280 об/хв, 7.5 кВт)
Один із найпопулярніших перетворювачів планетарного типу – мотор-редуктор 3МП-40 (280 об/хв, 7.5 кВт). Він призначений для зниження швидкості веденого валу, підвищення та передачі крутного моменту. Передавальний механізм має широку сферу застосування. Його використовують для комплектації промислових та сільськогосподарських машин, але для вантажопідйомного обладнання він не підходить.
Головний елемент мотор-редуктора 3МП-40 – механічний редуктор із одноступінчастою планетарною передачею. Його міжосьова відстань дорівнює 40 мм, частота обертання вихідного валу – 280 об/хв, номінальний момент, що крутить, – 250 Нм.
Завдяки використанню планетарної передачі, що розподіляє енергію, що передається рівномірно між усіма сателітами, знижуючий мотор-редуктор 3МП-40 (280 об/хв, 7.5 кВт) має компактні габарити. Перетворювач підходить для експлуатації в стандартних умовах: установка у приміщенні або на вулиці під навісом, неагресивне робоче середовище, температура від -45 до +45 градусів, вологість до 80%.
Умови використання мотор-редукторів 3МП-40
| Характеристика | Значення |
| Тип навантаження | Змінний, постійний |
| Режим роботи | Тривалий, з періодичними зупинками |
| Напрямок обертання тихохідного валу | Односпрямований, реверсивний |
| Температурний діапазон | Від -45 до +45 градусів |
| Кліматичне виконання | У, Т, категорія розміщення 2, 3 |
| Зовнішнє середовище | Невибухонебезпечний, неагресивний, вміст непровідного пилу не перевищує 10 мг/м3 |
Основні технічні характеристики мотор-редуктора 3МП-40 (280 об/хв, 7.5 кВт):
| Характеристика | Значення |
| Номінальна частота обертання вихідного валу, об/хв | 280 |
| Номінальний момент, що крутить, на вихідному валу, Н.м. | 250 |
| Комплектуючий електродвигун, марка | АІР132Ѕ4 |
| Потужність електродвигуна, кВт | 7.5 |
| Допустиме радіально-консольне навантаження на вихідному валу, Н | 2400 |
| ККД редукторної частини, % | 98 |
| Маса редукторної частини, кг | 105 |
Компанія «Промпривод» пропонує великий асортимент обладнання, у тому числі й мотор-редуктор 3МП-40 (280 об/хв, 7.5 кВт). Купити перетворювач можна на 3-10% дешевше за його ринкову вартість. Термін гарантійного обслуговування – 12 місяців. Доставляємо замовлення по всій території України, дотримуємось термінів відвантаження.
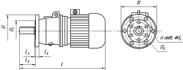
Габаритні та приєднувальні розміри мотор-редукторів 3МП-40 (виконання – на лапах)

| Позначення мотор-редуктора | Частота обертання вихідного валу, об/хв | L | B | H | L 1 | L 2 | B 1 | B 2 | H 1 | H 2 | H 3 | d1 |
| Не більше | ||||||||||||
| 3МП-40 | 112...280 | 725 | 350 | 305 | 110 | 170 | 180 | 220 | 112 | 22 | 63 | 20 |
Габаритні та приєднувальні розміри мотор-редукторів 3МП-40 (виконання - фланець)

| Позначення мотор-редуктора | Частота обертання вихідного валу, об/хв | L | B | L 3 | L 4 | L 5 | D | D 1 | D 2 | d 2 | n |
| Не більше | |||||||||||
| 3МП-40 | 112...280 | 725 | 350 | 6 | 16 | 90 | 200 | 130 | 165 | 15 | 6 |
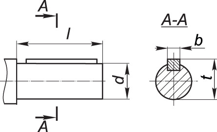
Приєднувальні розміри циліндричних валів мотор-редуктора 3МП-40

| Мотор-редуктор | d | l | b | t |
| 3МП-40 | 35k6 | 80 | 10 | 38 |
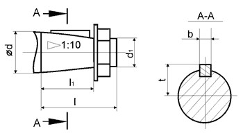
Приєднувальні розміри конічних валів мотор-редуктора 3МП-40

| Мотор-редуктор | d | D1 | 1 | 11 | b | t |
| 3МП-40 | 35 | М20х1,5 | 80 | 58 | 6 | 18,55 |
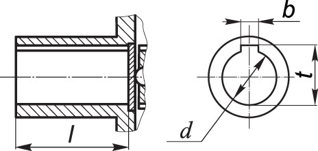
Приєднувальні розміри порожнистих валів мотор-редуктора 3МП-40

| Мотор-редуктор | d | 1 | b | t |
| 3МП-40 | 30Н7 | 70 | 8 | 33,1 |
Мотор-редуктор 3МП-40 (280 об/мин, 7.5 кВт)
Відгуків про цей товар ще не було.
Немає відгуків про цей товар, станьте першим, залиште свій відгук.
Немає питань про даний товар, станьте першим і задайте своє питання.