Мотор-редуктор 3МП-40 (35.5 об/хв, 1.5 кВт)
Мотор-редуктор 3МП-40 (35.5 об/хв, 1.5 кВт)
Мотор-редуктор 3МП-40 (35.5 об/хв, 1.5 кВт) – загальнопромисловий перетворювач, який використовується в приводах машин та обладнання для зменшення кутової швидкості обертання валу та збільшення моменту кручення. Підходить для обладнання будь-яких пристроїв, крім вантажопідйомних.
Конструкція мотор-редуктора 3МП-40 складається з двох робочих вузлів:
- редуктор з двоступінчастою планетарною передачею та міжосьовою відстанню 40 мм;
- асинхронний двигун АІР80В4 потужністю 1.5 квт.
Перетворювач експлуатується за стандартних умов, у неагресивному середовищі без вмісту вибухонебезпечних газів. Встановлення можливе як у приміщенні, так і на вулиці, але під навісом, щоб уникнути попадання води в редуктор. Допустиме постійне та змінне навантаження в межах номінального крутного моменту. Обертання валів – в обидві сторони, без переваг.
Умови використання мотор-редукторів 3МП-40
| Характеристика | Значення |
| Тип навантаження | Змінний, постійний |
| Режим роботи | Тривалий, з періодичними зупинками |
| Напрямок обертання тихохідного валу | Односпрямований, реверсивний |
| Температурний діапазон | Від -45 до +45 градусів |
| Кліматичне виконання | У, Т, категорія розміщення 2, 3 |
| Зовнішнє середовище | Невибухонебезпечне, неагресивне, зміст непровідного пилу не перевищує 10 мг/м3 |
Основні технічні характеристики мотор-редуктора 3МП-40 (35.5 об/хв, 1.5 кВт):
| Характеристика | Значення |
| Номінальна частота обертання вихідного валу, об/хв | 35.5 |
| Номінальний момент, що крутить, на вихідному валу, Н.м. | 375 |
| Комплектуючий електродвигун, марка | АІР80В4 |
| Потужність електродвигуна, кВт | 1.5 |
| Допустиме радіально-консольне навантаження на вихідному валу, Н | 4200 |
| ККД редукторної частини, % | 97 |
| Маса редукторної частини, кг | 52 |
Великому попиту на планетарні редуктори 3МП-40 (35.5 об/хв, 1.5 кВт) сприяли їх переваги:
- високий ККД (97%);
- можливість отримання більших передавальних чисел;
- надійна конструкція;
- добрі кінематичні можливості;
- просте обслуговування;
- цінова доступність.
Вигідно купити мотор-редуктор 3МП-40 (35.5 об/хв, 1.5 кВт) пропонує компанія «Промпривод». Наша ціна на 3-10% нижча від середньоринкової, на оптові замовлення передбачені знижки. На обладнання надається гарантія, що діє 12 місяців.
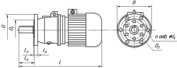
Габаритні і приєднувальні розміри мотор-редукторів 3МП-40 (виконання - на лапах)

| Позначення мотор-редуктора | Частота обертання вихідного валу, об/хв | L | B | H | L 1 | L 2 | B 1 | B 2 | H 1 | H 2 | H 3 | d1 |
| Не більше | ||||||||||||
| 3МП-40 | 18 90... | 625 | 250 | 247 | 110 | 170 | 180 | 220 | 112 | 22 | - | 20 |
Габаритні і приєднувальні розміри мотор-редукторів 3МП-40 (виконання - фланець)

| Позначення мотор-редуктора | Частота обертання вихідного валу, об/хв | L | B | L 3 | L 4 | L 5 | D | D 1 | D 2 | d 2 | n |
| Не більше | |||||||||||
| 3МП-40 | 18 90... | 625 | 250 | 6 | 16 | 90 | 200 | 130 | 165 | 15 | 6 |
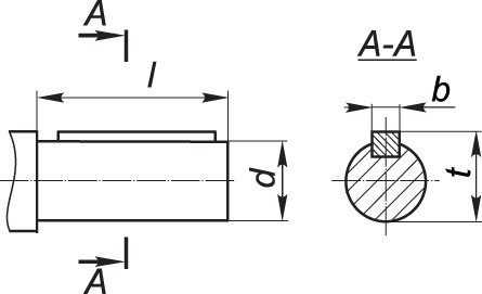
Приєднувальні розміри циліндричних валів мотор-редуктора 3МП-40

| Мотор-редуктор | d | l | b | t |
| 3МП-40 | 35k6 | 80 | 10 | 38 |
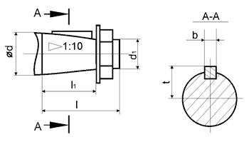
Приєднувальні розміри валів конічних мотор-редуктора 3МП-40

| Мотор-редуктор | d | D1 | 1 | 11 | b | t |
| 3МП-40 | 35 | М20х1,5 | 80 | 58 | 6 | 18,55 |
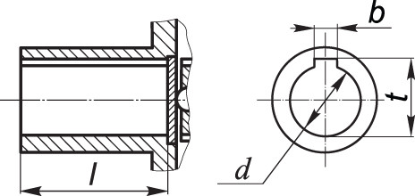
Приєднувальні розміри порожнистих валів мотор-редуктора 3МП-40

| Мотор-редуктор | d | 1 | b | t |
| 3МП-40 | 30Н7 | 70 | 8 | 33,1 |
Мотор-редуктор 3МП-40 (35.5 об/мин, 1.5 кВт)
Відгуків про цей товар ще не було.
Немає відгуків про цей товар, станьте першим, залиште свій відгук.
Немає питань про даний товар, станьте першим і задайте своє питання.