Мотор-редуктор 3МП-40 (45 об/хв, 1.1 кВт)
Мотор-редуктор 3МП-40 (45 об/хв, 1.1 кВт)
Перетворювач, здатний знизити швидкість обертання валу двигуна і підвищити момент, що крутить, необхідний багатьом промисловим машинам. Мотор-редуктор 3МП-40 (45 об/хв, 1.1 кВт) використовується для оснащення елеваторів, бурових установок, зерносушарок, зрошувачів, транспортерів, конвеєрних стрічок та іншого обладнання, крім вантажопідйомного.
Редуктор із планетарною двоступінчастою передачею, що входить до складу перетворювача, забезпечує високу ефективність роботи. Частота обертання вихідного валу для цієї моделі – 45 об/хв, номінальний момент, що крутить, – 225 Нм. Редукторна частина доповнюється асинхронним електродвигуном АІР 80А4 потужністю 1.1 кВт.
Корпус планетарного мотор-редуктора 3МП-40 на 45 об/хв виготовлений з чавуну. До станини робочого механізму перетворювач кріпиться на опорному фланці або лапах. Останній варіант переважний для обладнання, що піддається вібраційним навантаженням. Пристрій випускається з циліндричним, конічним або порожнистим вихідним валом.
Умови використання мотор-редукторів 3МП-40
| Характеристика | Значення |
| Тип навантаження | Змінний, постійний |
| Режим роботи | Тривалий, з періодичними зупинками |
| Напрямок обертання тихохідного валу | Односпрямований, реверсивний |
| Температурний діапазон | Від -45 до +45 градусів |
| Кліматичне виконання | У, Т, категорія розміщення 2, 3 |
| Зовнішнє середовище | Невибухонебезпечне, неагресивне, зміст непровідного пилу не перевищує 10 мг/м3 |
Основні технічні характеристики двоступінчастого мотор-редуктор 3МП-40 (45 об/хв, 1.1 кВт):
| Характеристика | Значення |
| Номінальна частота обертання вихідного валу, об/хв | 45 |
| Номінальний момент, що крутить, на вихідному валу, Н.м. | 225 |
| Комплектуючий електродвигун, марка | АІР80А4 |
| Потужність електродвигуна, кВт | 1.1 |
| Допустиме радіально-консольне навантаження на вихідному валу, Н | 4200 |
| ККД редукторної частини, % | 97 |
| Маса редукторної частини, кг | 45 |
На сайті компанії «Промпривод» ви можете купити мотор-редуктор 3МП-40 (45 об/хв, 1.1 кВт) – ціна обладнання на 3-10% нижча за ринкову. Виробник надає гарантію на 12 місяців та забезпечує доставку по всій території України. На оптові замовлення передбачено знижки.
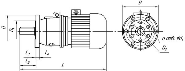
Габаритні і приєднувальні розміри мотор-редукторів 3МП-40 (виконання - на лапах)

| Позначення мотор-редуктора | Частота обертання вихідного валу, об/хв | L | B | H | L 1 | L 2 | B 1 | B 2 | H 1 | H 2 | H 3 | d1 |
| Не більше | ||||||||||||
| 3МП-40 | 18 90... | 625 | 250 | 247 | 110 | 170 | 180 | 220 | 112 | 22 | - | 20 |
Габаритні і приєднувальні розміри мотор-редукторів 3МП-40 (виконання - фланець)

| Позначення мотор-редуктора | Частота обертання вихідного валу, об/хв | L | B | L 3 | L 4 | L 5 | D | D 1 | D 2 | d 2 | n |
| Не більше | |||||||||||
| 3МП-40 | 18 90... | 625 | 250 | 6 | 16 | 90 | 200 | 130 | 165 | 15 | 6 |
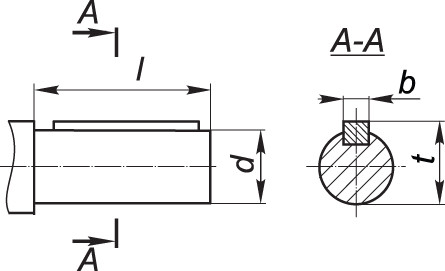
Приєднувальні розміри циліндричних валів мотор-редуктора 3МП-40

| Мотор-редуктор | d | l | b | t |
| 3МП-40 | 35k6 | 80 | 10 | 38 |
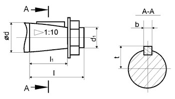
Приєднувальні розміри валів конічних мотор-редуктора 3МП-40

| Мотор-редуктор | d | D1 | 1 | 11 | b | t |
| 3МП-40 | 35 | М20х1,5 | 80 | 58 | 6 | 18,55 |
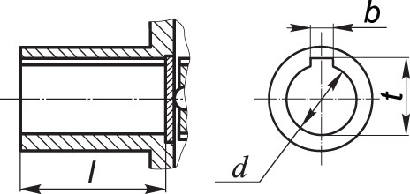
Приєднувальні розміри порожнистих валів мотор-редуктора 3МП-40

| Мотор-редуктор | d | 1 | b | t |
| 3МП-40 | 30Н7 | 70 | 8 | 33,1 |
Мотор-редуктор 3МП-40 (45 об/мин, 1.1 кВт)
Відгуків про цей товар ще не було.
Немає відгуків про цей товар, станьте першим, залиште свій відгук.
Немає питань про даний товар, станьте першим і задайте своє питання.