Мотор-редуктор 3МП-40 (56 об/хв, 1.5 кВт)
Мотор-редуктор 3МП-40 (56 об/хв, 1.5 кВт)
Мотор-редуктор 3МП-40 (56 об/хв, 1.5 кВт) встановлюється в приводи промислових машин (за винятком вантажопідйомних) зниження швидкості обертання валу, підвищення і передачі моменту кручення. Пристрій поєднує в моноблоці механічний редуктор із двоступінчастою планетарною передачею та асинхронний електродвигун.
Планетарна передача складається з кількох взаємозачеплених зубчастих коліс:
- сонячна шестерня – знаходиться у центрі механізму;
- коронна шестерня – зовнішнє колесо;
- сателіти – зубчасті колеса, розташовані між двома шестернями та постійно взаємодіючі з ними.
Основним елементом передачі є водило, у якому закріплюються осі сателітів. По міжосьової відстані мотор-редуктори поділяються на типорозміри. Для моделей 3МП-40 цей показник дорівнює 40 мм.
Швидкість обертання вихідного валу понижуючого планетарного мотор-редуктора 3МП-40 - 56 об/хв. Потужність електродвигуна АІР80В4 – 1.5 квт. Пристрій відрізняється високою ефективністю роботи, надійністю, простотою експлуатації, дозволяє отримувати великі передавальні числа.
Умови використання мотор-редукторів 3МП-40
| Характеристика | Значення |
| Тип навантаження | Змінний, постійний |
| Режим роботи | Тривалий, з періодичними зупинками |
| Напрямок обертання тихохідного валу | Односпрямований, реверсивний |
| Температурний діапазон | Від -45 до +45 градусів |
| Кліматичне виконання | У, Т, категорія розміщення 2, 3 |
| Зовнішнє середовище | Невибухонебезпечне, неагресивне, зміст непровідного пилу не перевищує 10 мг/м3 |
Основні технічні характеристики мотор-редуктора 3МП-40 (56 об/хв, 1.5 кВт):
| Характеристика | Значення |
| Номінальна частота обертання вихідного валу, об/хв | 56 |
| Номінальний момент, що крутить, на вихідному валу, Н.м. | 248 |
| Комплектуючий електродвигун, марка | АІР80В4 |
| Потужність електродвигуна, кВт | 1.5 |
| Допустиме радіально-консольне навантаження на вихідному валу, Н | 4200 |
| ККД редукторної частини, % | 97 |
| Маса редукторної частини, кг | 45 |
На сайті компанії «Промпривод» ви можете купити мотор-редуктор 3МП-40 (56 об/хв, 1.5 кВт) для монтажу на лапи або фланцеве з'єднання. Ціна обладнання у нас на 3-10% нижча за ринкову. Система знижок діє оптових покупців. Ви можете замовити доставку в будь-який регіон України, а для мешканців Харкова можливе самовивезення.
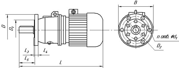
Габаритні і приєднувальні розміри мотор-редукторів 3МП-40 (виконання - на лапах)

| Позначення мотор-редуктора | Частота обертання вихідного валу, об/хв | L | B | H | L 1 | L 2 | B 1 | B 2 | H 1 | H 2 | H 3 | d1 |
| Не більше | ||||||||||||
| 3МП-40 | 18 90... | 625 | 250 | 247 | 110 | 170 | 180 | 220 | 112 | 22 | - | 20 |
Габаритні і приєднувальні розміри мотор-редукторів 3МП-40 (виконання - фланець)

| Позначення мотор-редуктора | Частота обертання вихідного валу, об/хв | L | B | L 3 | L 4 | L 5 | D | D 1 | D 2 | d 2 | n |
| Не більше | |||||||||||
| 3МП-40 | 18 90... | 625 | 250 | 6 | 16 | 90 | 200 | 130 | 165 | 15 | 6 |
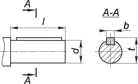
Приєднувальні розміри циліндричних валів мотор-редуктора 3МП-40

| Мотор-редуктор | d | l | b | t |
| 3МП-40 | 35k6 | 80 | 10 | 38 |
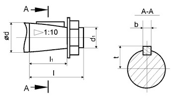
Приєднувальні розміри валів конічних мотор-редуктора 3МП-40

| Мотор-редуктор | d | D1 | 1 | 11 | b | t |
| 3МП-40 | 35 | М20х1,5 | 80 | 58 | 6 | 18,55 |
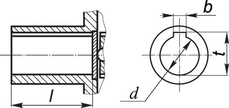
Приєднувальні розміри порожнистих валів мотор-редуктора 3МП-40

| Мотор-редуктор | d | 1 | b | t |
| 3МП-40 | 30Н7 | 70 | 8 | 33,1 |
Мотор-редуктор 3МП-40 (56 об/мин, 1.5 кВт)
Відгуків про цей товар ще не було.
Немає відгуків про цей товар, станьте першим, залиште свій відгук.
Немає питань про даний товар, станьте першим і задайте своє питання.