Мотор-редуктор 3МП-40 (56 об/хв, 2.2 кВт)
Мотор-редуктор 3МП-40 (56 об/хв, 2.2 кВт)
Компактний, якісний та продуктивний мотор-редуктор 3МП-40 (56 об/хв, 2.2 кВт) часто використовується в приводах промислових машин як перетворювач кутової швидкості обертання валу. Пристрій збільшує момент, що крутить, знижуючи навантаження на двигун. Механізм створений на основі двоступінчастої планетарної передачі.
Конструкція мотор-редуктора 3МП-40 на 56 об/хв забезпечує високі показники продуктивності (ККД 9%). Пристрій може працювати безперервно до 24 години на добу за умови контролю нагріву. Номінальний момент, що крутить, для даної моделі становить 365 Нм. Можлива експлуатація при постійному або змінному навантаженні, одного напрямку або реверсивному.
Для експлуатації знижуючого планетарного мотор-редуктора 3МП-40 підходить неагресивне середовище без вмісту вибухонебезпечних газів. Допустима вологість повітря – 80%, концентрація пилу – до 10 мг/м3. Діапазон температур від -45 до +45 градусів. перетворювач випускається у двох варіантах кліматичного виконання: для помірного (П) та тропічного (Т) клімату.
Умови використання мотор-редукторів 3МП-40
| Характеристика | Значення |
| Тип навантаження | Змінний, постійний |
| Режим роботи | Тривалий, з періодичними зупинками |
| Напрямок обертання тихохідного валу | Односпрямований, реверсивний |
| Температурний діапазон | Від -45 до +45 градусів |
| Кліматичне виконання | У, Т, категорія розміщення 2, 3 |
| Зовнішнє середовище | Невибухонебезпечне, неагресивне, зміст непровідного пилу не перевищує 10 мг/м3 |
Основні технічні характеристики мотор-редуктора 3МП-40 (56 об/хв, 2.2 кВт):
| Характеристика | Значення |
| Номінальна частота обертання вихідного валу, об/хв | 56 |
| Номінальний момент, що крутить, на вихідному валу, Н.м. | 365 |
| Комплектуючий електродвигун, марка | АІР90L4 |
| Потужність електродвигуна, кВт | 2.2 |
| Допустиме радіально-консольне навантаження на вихідному валу, Н | 4200 |
| ККД редукторної частини, % | 97 |
| Маса редукторної частини, кг | 50 |
Рекомендуємо купити мотор-редуктор 3МП-40 (56 об/хв, 2.2 кВт) на сайті компанії «Промпривод». Ви зможете заощадити від 3 до 10% його вартості (наші ціни нижчі від ринкових), а також отримати знижку на оптове замовлення. Гарантія надається на 12 місяців. Доставка можлива по всій Україні.
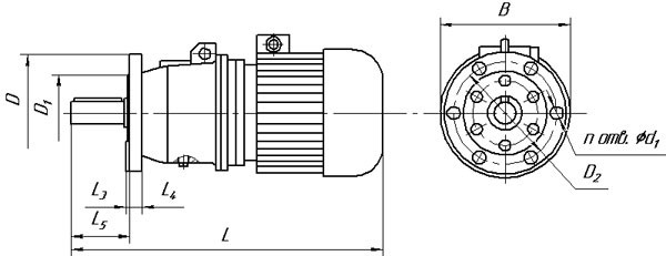
Габаритні і приєднувальні розміри мотор-редукторів 3МП-40 (виконання - на лапах)

| Позначення мотор-редуктора | Частота обертання вихідного валу, об/хв | L | B | H | L 1 | L 2 | B 1 | B 2 | H 1 | H 2 | H 3 | d1 |
| Не більше | ||||||||||||
| 3МП-40 | 18 90... | 625 | 250 | 247 | 110 | 170 | 180 | 220 | 112 | 22 | - | 20 |
Габаритні і приєднувальні розміри мотор-редукторів 3МП-40 (виконання - фланець)

| Позначення мотор-редуктора | Частота обертання вихідного валу, об/хв | L | B | L 3 | L 4 | L 5 | D | D 1 | D 2 | d 2 | n |
| Не більше | |||||||||||
| 3МП-40 | 18 90... | 625 | 250 | 6 | 16 | 90 | 200 | 130 | 165 | 15 | 6 |
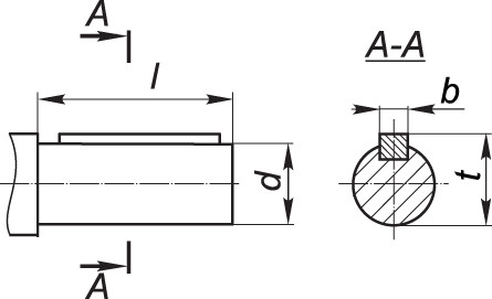
Приєднувальні розміри циліндричних валів мотор-редуктора 3МП-40

| Мотор-редуктор | d | l | b | t |
| 3МП-40 | 35k6 | 80 | 10 | 38 |
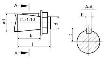
Приєднувальні розміри валів конічних мотор-редуктора 3МП-40

| Мотор-редуктор | d | D1 | 1 | 11 | b | t |
| 3МП-40 | 35 | М20х1,5 | 80 | 58 | 6 | 18,55 |
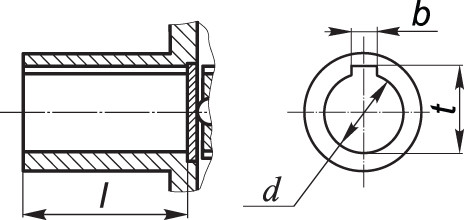
Приєднувальні розміри порожнистих валів мотор-редуктора 3МП-40

| Мотор-редуктор | d | 1 | b | t |
| 3МП-40 | 30Н7 | 70 | 8 | 33,1 |
Мотор-редуктор 3МП-40 (56 об/мин, 2.2 кВт)
Відгуків про цей товар ще не було.
Немає відгуків про цей товар, станьте першим, залиште свій відгук.
Немає питань про даний товар, станьте першим і задайте своє питання.