Мотор-редуктор 3МП-40 (9 об/хв, 0.25 кВт)
Мотор-редуктор 3МП-40 (9 об/хв, 0.25 кВт)
Головна функція, яку виконує мотор-редуктор 3МП-40 (9 об/хв, 0.25 кВт) – зниження частоти обертання валу, збільшення та передача крутного моменту приводним механізмам. Пристрої, що об'єднали в собі редуктор із планетарною передачею та асинхронний двигун, успішно справляються з поставленим завданням, дозволяючи отримувати великі передавальні числа.
Завдяки рівномірному розподілу потужності, що передається між усіма сателітами, планетарна передача має невеликий розмір, що дозволило зробити габарити перетворювачів досить компактними. Планетарний мотор-редуктор 3МП-40 з частотою обертання вихідного валу 9 об/хв може використовуватися для оснащення обладнання зі строгими вимогами до габаритів та ваги.
Редуктор знижуючий планетарний 3МП-40-9-0.25 повинен експлуатуватися в неагресивному середовищі, яке не містить вибухонебезпечних газів. Допустима концентрація непровідного пилу – 10 мг/м3, максимальна вологість повітря – 80%. Температурний діапазон для роботи – від -45 до +45 градусів.
Умови використання мотор-редукторів 3МП-40
| Характеристика | Значення |
| Тип навантаження | Змінний, постійний |
| Режим роботи | Тривалий, з періодичними зупинками |
| Напрямок обертання тихохідного вала | Односпрямований, реверсивний |
| Температурний діапазон | Від -45 до +45 градусів |
| Кліматичне виготовлення | У, Т, категорія розміщення 2, 3 |
| Зовнішнє середовище | Невдосконалене, неагресивне, вміст непровідного пилу не перевищує 10 мг/м3 |
Основні технічні характеристики мотор-редуктора 3МП-40 (9 об./хв, 0.25 кВт)
| Характеристика | Значення |
| Номінальна частота обертання вихідного вала, об/хв | 9 |
| Кількість ступенів | 3 |
| Комплектуючий електродвигун, марка | АІР63А4 |
| Потужність електродвигуна, кВт | 0.25 |
| Допустиме радіально-консольне навантаження на вихідному валу, Н | 4540 |
| ККД редукторної частини, % | 96 |
| Маса редукторної частини, кг | 38 |
На сайті компанії «Промпривод» ви можете купити мотор-редуктор 3МП-40 (9 об/хв, 0.25 кВт), не переплачуючи. Ціни на обладнання на 3-10% нижчі від середньоринкових. Оптові покупці одержують знижки. Процес вибору продукції та оформлення замовлення можуть супроводжувати наші менеджери – зв'яжіться з ними по телефону або у чаті.
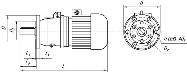
Габаритні та приєднувальні розміри мотор-редукторів 3МП (виконання – на лапах)

| Позначення мотор-редуктора | Частота обертання вихідного вала, об/хв | L | B | H | L 1 | L 2 | B 1 | B 2 | H 1 | H 2 | H 3 | d1 |
| Не більш ніж | ||||||||||||
| 3МП-40 | 3,55…16 | 500 | 224 | 247 | 110 | 170 | 180 | 220 | 112 | 22 | - | 20 |
Габаритні та приєднувальні розміри мотор-редукторів 3МП-40 (виконання - фланець)

| Позначення мотор-редуктора | Частота обертання вихідного вала, об/хв | L | B | L 3 | L 4 | L 5 | D | D 1 | D 2 | d 2 | n |
| Не більш ніж | |||||||||||
| 3МП-40 | 3,55…16 | 500 | 224 | 6 | 16 | 90 | 200 | 130 | 165 | 15 | 6 |
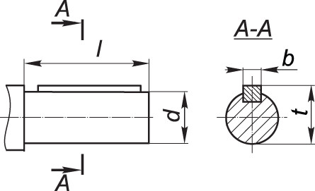
Приєднувальні розміри циліндричних валів мотор-редуктора 3МП-40

| Мотор-редуктор | d | l | b | t |
| 3МП-40 | 35k6 | 80 | 10 | 38 |
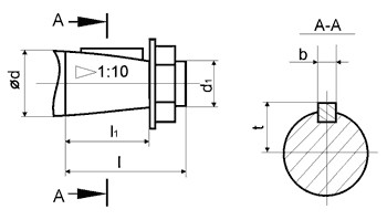
Приєднувальні розміри конічних валів мотор-редуктора 3МП-40

| Мотор-редуктор | d | D1 | 1 | 11 | b | t |
| 3МП-40 | 35 | М20х1,5 | 80 | 58 | 6 | 18,55 |
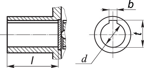
Приєднувальні розміри порожнистих валів мотор-редуктора 3МП-40

| Мотор-редуктор | d | 1 | b | t |
| 3МП-40 | 30Н7 | 70 | 8 | 33,1 |
Мотор-редуктор 3МП-40 (9 об/мин, 0.25 кВт)
Відгуків про цей товар ще не було.
Немає відгуків про цей товар, станьте першим, залиште свій відгук.
Немає питань про даний товар, станьте першим і задайте своє питання.