Мотор-редуктор 3МП-40 (9 об/хв, 0.37 кВт)
Мотор-редуктор 3МП-40 (9 об/хв, 0.37 кВт)
Пристроями для перетворення швидкості обертання валу двигуна та збільшення крутного моменту оснащуються багато промислових механізмів. Мотор-редуктор 3МП-40 (9 об/хв, 0.37 кВт) може використовуватися в приводах верстатів, зрошувальних установок, бетономішалок, елеваторів, транспортерів, конвеєрів та інших машин, крім вантажопідйомних пристроїв.
Перетворювач створений на основі редуктора з 3-ступінчастою планетарною передачею. Усі її елементи (сонячна шестерня, коронна шестерня, епіцикл) знаходяться у постійному взаємному зачепленні. Використання планетарної передачі дало можливість рівномірно розподіляти потужність та отримувати високий ККД (96% для даної моделі).
Крім високої продуктивності планетарні мотор-редуктори 3МП-40 з частотою обертання вихідного валу 9 об/хв мають інші переваги:
- компактні габарити;
- невелика вага;
- широкий діапазон передавальних чисел;
- міцний чавунний корпус;
- ремонтопридатність;
- можливість монтажу на лапи чи фланець;
- тривалий експлуатаційний термін.
Передавальний механізм укомплектований асинхронним двигуном АІР63В4 потужністю 0.37 кВт.
Умови використання мотор-редукторів 3МП-40
| Характеристика | Значення |
| Тип навантаження | Змінний, постійний |
| Режим роботи | Тривалий, з періодичними зупинками |
| Напрямок обертання тихохідного валу | Односпрямований, реверсивний |
| Температурний діапазон | Від -45 до +45 градусів |
| Кліматичне виконання | У, Т, категорія розміщення 2, 3 |
| Зовнішнє середовище | Невибухонебезпечне, неагресивне, зміст непровідного пилу не перевищує 10 мг/м3 |
Основні технічні характеристики триступінчастого мотор-редуктора 3МП-40 (9 об/хв, 0.37 кВт):
| Характеристика | Значення |
| Номінальна частота обертання вихідного валу, об/хв | 9 |
| Номінальний момент, що крутить, на вихідному валу, Н.м. | 330 |
| Комплектуючий електродвигун, марка | АІР63В4 |
| Потужність електродвигуна, кВт | 0.37 |
| Допустиме радіально-консольне навантаження на вихідному валу, Н | 4540 |
| ККД редукторної частини, % | 96 |
| Маса редукторної частини, кг | 39 |
Щоб купити мотор-редуктор 3МП-40 (9 об/хв, 0.37 кВт), достатньо оформити замовлення на сайті компанії «Промпривод» або зв'язатися з нашими менеджерами. Вони нададуть повну інформацію про технічні характеристики пристрою. На обладнання надається гарантія, що діє протягом року. Для постійних клієнтів та оптових покупців діє гнучка система знижок. Вся продукція постачається після попередньої перевірки у ВТК.
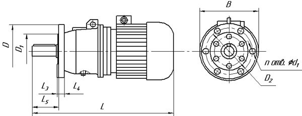
Габаритні та приєднувальні розміри мотор-редукторів 3МП-40 (виконання – на лапах)

| Позначення мотор-редуктора | Частота обертання вихідного валу, об/хв | L | B | H | L 1 | L 2 | B 1 | B 2 | H 1 | H 2 | H 3 | d1 |
| Не більше | ||||||||||||
| 3МП-40 | 3,55 16... | 500 | 224 | 247 | 110 | 170 | 180 | 220 | 112 | 22 | - | 20 |
Габаритні та приєднувальні розміри мотор-редукторів 3МП-40 (виконання - фланець)

| Позначення мотор-редуктора | Частота обертання вихідного валу, об/хв | L | B | L 3 | L 4 | L 5 | D | D 1 | D 2 | d 2 | n |
| Не більше | |||||||||||
| 3МП-40 | 3,55 16... | 500 | 224 | 6 | 16 | 90 | 200 | 130 | 165 | 15 | 6 |
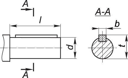
Приєднувальні розміри циліндричних валів мотор-редуктора 3МП-40

| Мотор-редуктор | d | l | b | t |
| 3МП-40 | 35k6 | 80 | 10 | 38 |
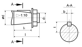
Приєднувальні розміри конічних валів мотор-редуктора 3МП-40

| Мотор-редуктор | d | D1 | 1 | 11 | b | t |
| 3МП-40 | 35 | М20х1,5 | 80 | 58 | 6 | 18,55 |
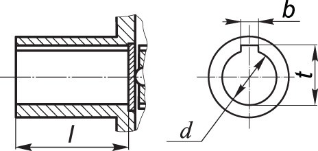
Приєднувальні розміри порожнистих валів мотор-редуктора 3МП-40

| Мотор-редуктор | d | 1 | b | t |
| 3МП-40 | 30Н7 | 70 | 8 | 33,1 |
Мотор-редуктор 3МП-40 (9 об/мин, 0.37 кВт)
Відгуків про цей товар ще не було.
Немає відгуків про цей товар, станьте першим, залиште свій відгук.
Немає питань про даний товар, станьте першим і задайте своє питання.