Мотор-редуктор 3МП-40 (90 об/хв, 2.2 кВт)
Мотор-редуктор 3МП-40 (90 об/хв, 2.2 кВт)
Мотор-редуктор 3МП-40 (90 об/хв, 2.2 кВт) – механізм, створений внаслідок об'єднання в одному корпусі електродвигуна АІР80В2 та редуктора з двоступінчастою планетарною передачею. Використовується в більшості сфер промисловості для зниження швидкості обертання валів двигуна механізмів (крім вантажопідйомних) та підвищення крутного моменту. Перетворювачами оснащуються різні види обладнання: верстати, конвеєри, транспортери, бурові установки, елеватори тощо.
Головна перевага планетарного мотор-редуктора 3МП-40 (90 об/хв, 2.2 кВт) – висока продуктивність. Додаткові плюси: цінова доступність, великі передавальні числа, широкі кінематичні можливості, високий момент, що крутить. Пристрій протягом тривалого часу (до 24 годин) може працювати без перерв. Допустима експлуатація при постійному та змінному навантаженні, односпрямованому або реверсивному. Дотримання рекомендованих умов експлуатації, викладених у паспорті, а також регулярне технічне обслуговування гарантують тривалий термін служби обладнання.
Умови використання мотор-редукторів 3МП-40
| Характеристика | Значення |
| Тип навантаження | Змінний, постійний |
| Режим роботи | Тривалий, з періодичними зупинками |
| Напрямок обертання тихохідного валу | Односпрямований, реверсивний |
| Температурний діапазон | Від -45 до +45 градусів |
| Кліматичне виконання | У, Т, категорія розміщення 2, 3 |
| Зовнішнє середовище | Невибухонебезпечне, неагресивне, зміст непровідного пилу не перевищує 10 мг/м3 |
Основні технічні характеристики мотор-редуктора 3МП-40 (90 об/хв, 2.2 кВт):
| Характеристика | Значення |
| Номінальна частота обертання вихідного валу, об/хв | 90 |
| Номінальний момент, що крутить, на вихідному валу, Н.м. | 225 |
| Комплектуючий електродвигун, марка | АІР80В2 |
| Потужність електродвигуна, кВт | 2.2 |
| Допустиме радіально-консольне навантаження на вихідному валу, Н | 4200 |
| ККД редукторної частини, % | 97 |
| Маса редукторної частини, кг | 45 |
Компанія «Промпривод» пропонує купити мотор-редуктор 3МП-40 (90 об/хв, 2.2 кВт) за вигідною ціною – на 3-10% дешевше, ніж у середньому на ринку. Якщо ви оформляєте оптове замовлення, отримуєте додаткову знижку. Гарантія на обладнання діє протягом року. Доставка здійснюється у всі регіони України.
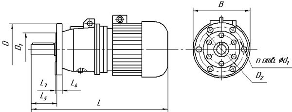
Габаритні та приєднувальні розміри мотор-редукторів 3МП-40 (виконання – на лапах)

| Позначення мотор-редуктора | Частота обертання вихідного валу, об/хв | L | B | H | L 1 | L 2 | B 1 | B 2 | H 1 | H 2 | H 3 | d1 |
| Не більше | ||||||||||||
| 3МП-40 | 18 90... | 625 | 250 | 247 | 110 | 170 | 180 | 220 | 112 | 22 | - | 20 |
Габаритні і приєднувальні розміри мотор-редукторів 3МП-40 (виконання - фланець)

| Позначення мотор-редуктора | Частота обертання вихідного валу, об/хв | L | B | L 3 | L 4 | L 5 | D | D 1 | D 2 | d 2 | n |
| Не більше | |||||||||||
| 3МП-40 | 18 90... | 625 | 250 | 6 | 16 | 90 | 200 | 130 | 165 | 15 | 6 |
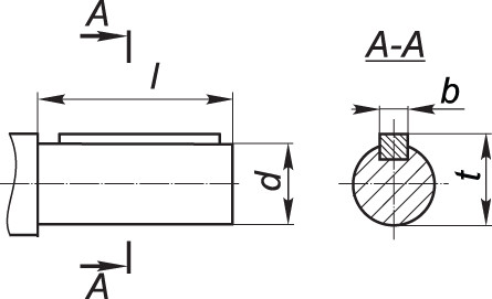
Приєднувальні розміри циліндричних валів мотор-редуктора 3МП-40

| Мотор-редуктор | d | l | b | t |
| 3МП-40 | 35k6 | 80 | 10 | 38 |
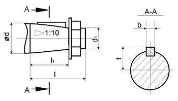
Приєднувальні розміри конічних валів мотор-редуктора 3МП-40

| Мотор-редуктор | d | D1 | 1 | 11 | b | t |
| 3МП-40 | 35 | М20х1,5 | 80 | 58 | 6 | 18,55 |
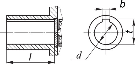
Приєднувальні розміри порожнистих валів мотор-редуктора 3МП-40

| Мотор-редуктор | d | 1 | b | t |
| 3МП-40 | 30Н7 | 70 | 8 | 33,1 |
Мотор-редуктор 3МП-40 (90 об/мин, 2.2 кВт)
Відгуків про цей товар ще не було.
Немає відгуків про цей товар, станьте першим, залиште свій відгук.
Немає питань про даний товар, станьте першим і задайте своє питання.