Мотор-редуктор 3МП-50 (1 ступінь, 140 об/хв)
Мотор-редуктор 3МП-50 (1 ступінь, 140 об/хв)
Для перетворення високої кутової швидкості обертання валу в нижчу і підвищення моменту, що крутить, використовується спеціальний пристрій - мотор-редуктор 3МП-50 (1 ступінь, 140 об/хв). Він встановлюється в приводи багатьох промислових механізмів, крім вантажопідйомних. В основі перетворювача лежить планетарний одноступінчастий редуктор, який доповнюється асинхронним електродвигуном АІР160S6 потужністю 11 кВт.
Стабільна робота мотор-редуктора 3МП-50 (1 ступінь, 140 об/хв) гарантується за таких умов:
- неагресивне та невибухонебезпечне зовнішнє середовище;
- висота над рівнем моря до 1 км;
- вологість повітря – 80%;
- температура – від +45 до -45 градусів;
- рівень запиленості – до 10 мг/м3;
- місце – у приміщенні або на відкритому повітрі під навісом.
Пристрій може працювати з постійним і змінним навантаженням, що не перевищує момент, що крутить. Вали обертаються в обидві сторони, без переваг. Безперервна робота можлива протягом 24 годин, але слід контролювати рівень нагріву. Якщо температура механізму більша за 90 градусів, роботу потрібно зупинити.
Умови використання мотор-редукторів 3МП-50
| Характеристика | Значення |
| Тип навантаження | Змінний, постійний |
| Режим роботи | Тривалий, з періодичними зупинками |
| Напрямок обертання тихохідного валу | Однонаправлене, реверсивне |
| Температурний діапазон | Від -45 до +45 градусів |
| Кліматичне виконання | У, Т, категорія розміщення 2, 3 |
| Зовнішнє середовище | Невибухонебезпечне, неагресивне, вміст непровідного пилу не перевищує 10 мг/м3 |
Основні технічні характеристики мотор-редуктора 3МП-50 (1 ступінь, 140 об/хв):
| Характеристика | Значення |
| Номінальна частота обертання вихідного валу, об / хв | 140 |
| Номінальний момент, що крутить, на вихідному валу, Н.м | 750 |
| Комплектуючий електродвигун, марка | АІР160S6 |
| Потужність електродвигуна, кВт | 11 |
| Допустиме радіально-консольне навантаження на вихідному валу, Н | 3430 |
| ККД редукторної частини, % | 98 |
| Маса редукторної частини, кг | 181 |
Вигідно купити мотор-редуктор 3МП-50 (1 ступінь, 140 об/хв) можна на сайті компанії «Промпривод». Вартість обладнання на 3-10% нижча за середню по ринку, а при оптовому замовленні надаються знижки. Гарантія від виробника діє протягом 12 місяців.
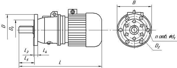
Габаритні та при'єднувальні розміри мотор-редукторів 3МП-50 (викриття - на лапах)

| Позначення мотор-редуктора | Частота обертання вихідного вала, об/хв | L | B | H | L 1 | L 2 | B 1 | B 2 | H 1 | H 2 | H 3 | d1 |
| Не більше | ||||||||||||
| 3МП-50 | 112…280 | 925 | 350 | 360 | 145 | 210 | 220 | 266 | 132 | 22 | 43 | 22 |
Габаритні та приєднувальні розміри мотор-редукторів 3МП-50 (виконання - фланець)

| Позначення мотор-редуктора | Частота обертання вихідного вала, об/мін | L | B | L 3 | L 4 | L 5 | D | D 1 | D 2 | d 2 | n |
| Не більше | |||||||||||
| 3МП-50 | 112…280 | 925 | 350 | 8 | 18 | 124 | 250 | 180 | 215 | 17 | 6 |
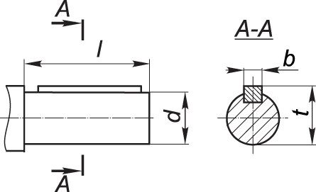
Приєднувальні розміри циліндричних валів мотор-редуктора 3МП-50

| Мотор-редуктор | d | l | b | t |
| 3МП-50 | 45k6 | 110 | 14 | 48,5 |
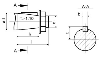
Приєднувальні розміри конічних валів мотор-редуктора 3МП-50

| Мотор-редуктор | d | D1 | 1 | 11 | b | t |
| 3МП-50 | 45 | М30х2,0 | 110 | 82 | 12 | 23,45 |
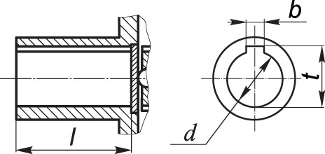
Приєднувальні розміри порожнистих валів мотор-редуктора 3МП-50

| Мотор-редуктор | d | 1 | b | t |
| 3МП-50 | 40Н7 | 80 | 12 | 43,3 |
Мотор-редуктор 3МП-50 (1 ступень, 140 об/мин)
Відгуків про цей товар ще не було.
Немає відгуків про цей товар, станьте першим, залиште свій відгук.
Немає питань про даний товар, станьте першим і задайте своє питання.