Мотор-редуктор 3МП-50 (1 ступінь, 180 об/хв)
Мотор-редуктор 3МП-50 (1 ступінь, 180 об/хв)
Якщо необхідний компактний та ефективний передавач, вибирайте мотор-редуктор 3МП-50 (1 ступінь, 180 об/хв). Численні переваги пристрою забезпечили великий попит на нього у сфері промисловості та сільського господарства:
- високий ККД (98%);
- можливість отримання більших передавальних чисел;
- відмінні кінематичні можливості;
- радіальні навантаження рівномірно розподіляються на корпус;
- робота без перерв протягом 8-24 годин;
- обертання валів у будь-який бік, реверс;
- експлуатація при постійному та змінному навантаженні в межах крутного моменту;
- стійкість до навантажень;
- два варіанти монтажного виконання – на лапах та на фланці;
- чавунний корпус;
- просте обслуговування;
- недорогий ремонт.
Забезпечення відповідних умов експлуатації – гарантія стабільної роботи планетарного двигуна-редуктора 3МП-50 (1 ступінь, 180 об/хв). Устаткування не підходить для використання в агресивному та вибухонебезпечному середовищі, в умовах підвищеної вологості. Температура може бути від -45 до +45 градусів, вологість повітря – до 80%, вміст пилу – до 10 мг/м3.
Умови використання мотор-редукторів 3МП-50
| Характеристика | Значення |
| Тип навантаження | Змінний, постійний |
| Режим роботи | Тривалий, з періодичними зупинками |
| Напрямок обертання тихохідного валу | Односпрямований, реверсивний |
| Температурний діапазон | Від -45 до +45 градусів |
| Кліматичне виконання | У, Т, категорія розміщення 2, 3 |
| Зовнішнє середовище | Невибухонебезпечне, неагресивне, зміст непровідного пилу не перевищує 10 мг/м3 |
Основні технічні характеристики мотор-редуктора 3МП-50 (одноступінчастий, 180 об/хв):
| Характеристика | Значення |
| Номінальна частота обертання вихідного валу, об/хв | 180 |
| Номінальний момент, що крутить, на вихідному валу, Н.м. | 750 |
| Комплектуючий електродвигун, марка | АІР160Ѕ4 |
| Потужність електродвигуна, кВт | 15 |
| Допустиме радіально-консольне навантаження на вихідному валу, Н | 3430 |
| ККД редукторної частини, % | 98 |
| Маса редукторної частини, кг | 201 |
Щоб купити мотор-редуктор 3МП-50 (1 ступінь, 180 об/хв) достатньо оформити замовлення на сайті компанії «Промпривод». Ціна, яку пропонує виробник, на 3-10% нижча від середньоринкової. Вибрати обладнання вам допоможуть наші менеджери – з ними можна зв'язатись за допомогою чату або по телефону.
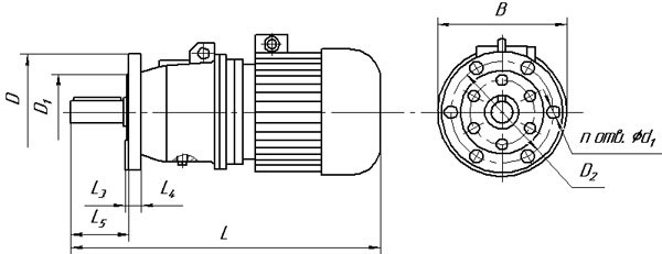
Габаритні та приєднувальні розміри мотор-редукторів 3МП-50 (виконання – на лапах)

| Позначення мотор-редуктора | Частота обертання вихідного валу, об/хв | L | B | H | L 1 | L 2 | B 1 | B 2 | H 1 | H 2 | H 3 | d1 |
| Не більше | ||||||||||||
| 3МП-50 | 112...280 | 925 | 350 | 360 | 145 | 210 | 220 | 266 | 132 | 22 | 43 | 22 |
Габаритні та приєднувальні розміри мотор-редукторів 3МП-50 (виконання - фланець)

| Позначення мотор-редуктора | Частота обертання вихідного валу, об/хв | L | B | L 3 | L 4 | L 5 | D | D 1 | D 2 | d 2 | n |
| Не більше | |||||||||||
| 3МП-50 | 112...280 | 925 | 350 | 8 | 18 | 124 | 250 | 180 | 215 | 17 | 6 |
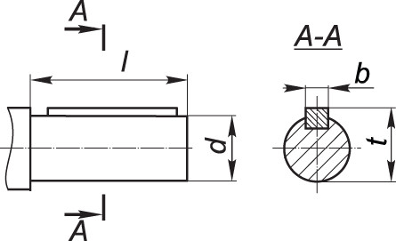
Приєднувальні розміри циліндричних валів мотор-редуктора 3МП-50

| Мотор-редуктор | d | l | b | t |
| 3МП-50 | 45k6 | 110 | 14 | 48,5 |
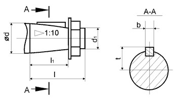
Приєднувальні розміри конічних валів мотор-редуктора 3МП-50

| Мотор-редуктор | d | D1 | 1 | 11 | b | t |
| 3МП-50 | 45 | М30х2,0 | 110 | 82 | 12 | 23,45 |
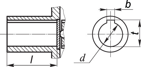
Приєднувальні розміри порожнистих валів мотор-редуктора 3МП-50

| Мотор-редуктор | d | 1 | b | t |
| 3МП-50 | 40Н7 | 80 | 12 | 43,3 |
Мотор-редуктор 3МП-50 (1 ступень, 180 об/мин)
Відгуків про цей товар ще не було.
Немає відгуків про цей товар, станьте першим, залиште свій відгук.
Немає питань про даний товар, станьте першим і задайте своє питання.