Мотор-редуктор 3МП-50 (1 ступінь, 224 об/хв)
Мотор-редуктор 3МП-50 (1 ступінь, 224 об/хв)
Великий попит на планетарні перетворювачі, до яких належить і мотор-редуктор 3МП-50 (1 ступінь, 224 об/хв), пояснюється високою ефективністю роботи. Пристрої знижують швидкість обертання валу, підвищуючи момент, що крутить, зменшуючи тим самим навантаження на двигун приводного механізму. Передавальні механізми використовуються у приводах верстатів, бетономішалок, бурильних установок, транспортерів, конвеєрів та інших промислових машин (за винятком вантажопідйомних).
Кожен мотор-редуктор маркується умовним позначенням. Воно містить таку інформацію:
- тип перетворювача (3МП);
- міжосьова відстань (50 мм);
- частота обертання вихідного валу (224 об/хв);
- потужність двигуна (11 кВт);
- варіант складання (розташування зливного, заливного та контрольного отворів, монтаж на лапи або на фланець);
- кліматичне виконання (П – для помірного клімату, Т – для тропічного).
Розібратися в технічних характеристиках передавальних механізмів та вибрати найбільш підходящий варіант вам допоможуть наші менеджери.
Умови використання мотор-редукторів 3МП-50
| Характеристика | Значення |
| Тип навантаження | Змінний, постійний |
| Режим роботи | Тривалий, з періодичними зупинками |
| Напрямок обертання тихохідного валу | Односпрямований, реверсивний |
| Температурний діапазон | Від -45 до +45 градусів |
| Кліматичне виконання | У, Т, категорія розміщення 2, 3 |
| Зовнішнє середовище | Невибухонебезпечне, неагресивне, зміст непровідного пилу не перевищує 10 мг/м3 |
Основні технічні характеристики мотор-редуктора 3МП-50 (1 ступінь, 224 об/хв):
| Характеристика | Значення |
| Номінальна частота обертання вихідного валу, об/хв | 224 |
| Номінальний момент, що крутить, на вихідному валу, Н.м. | 450 |
| Комплектуючий електродвигун, марка | АІР132М4 |
| Потужність електродвигуна, кВт | 11 |
| Допустиме радіально-консольне навантаження на вихідному валу, Н | 3430 |
| ККД редукторної частини, % | 98 |
| Маса редукторної частини, кг | 137 |
Якщо ви хочете купити мотор-редуктор 3МП-50 (1 ступінь, 224 об/хв), не переплачуючи, компанія «Промпривод» запропонує вам найкращі умови. Наші ціни на 3-10% нижчі від середньоринкових, а для оптових клієнтів передбачені знижки. Гарантія надається на 12 місяців. Гарантуємо своєчасне відвантаження та швидке відправлення замовлень по території України.
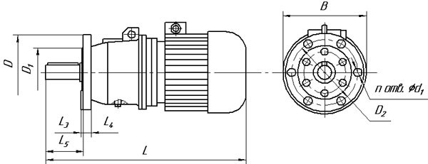
Габаритні та приєднувальні розміри мотор-редукторів 3МП-50 (виконання – на лапах)

| Позначення мотор-редуктора | Частота обертання вихідного валу, об/хв | L | B | H | L 1 | L 2 | B 1 | B 2 | H 1 | H 2 | H 3 | d1 |
| Не більше | ||||||||||||
| 3МП-50 | 112...280 | 925 | 350 | 360 | 145 | 210 | 220 | 266 | 132 | 22 | 43 | 22 |
Габаритні та приєднувальні розміри мотор-редукторів 3МП-50 (виконання - фланець)

| Позначення мотор-редуктора | Частота обертання вихідного валу, об/хв | L | B | L 3 | L 4 | L 5 | D | D 1 | D 2 | d 2 | n |
| Не більше | |||||||||||
| 3МП-50 | 112...280 | 925 | 350 | 8 | 18 | 124 | 250 | 180 | 215 | 17 | 6 |
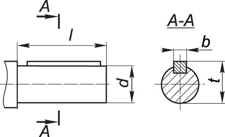
Приєднувальні розміри циліндричних валів мотор-редуктора 3МП-50

| Мотор-редуктор | d | l | b | t |
| 3МП-50 | 45k6 | 110 | 14 | 48,5 |
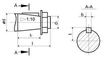
Приєднувальні розміри конічних валів мотор-редуктора 3МП-50

| Мотор-редуктор | d | D1 | 1 | 11 | b | t |
| 3МП-50 | 45 | М30х2,0 | 110 | 82 | 12 | 23,45 |
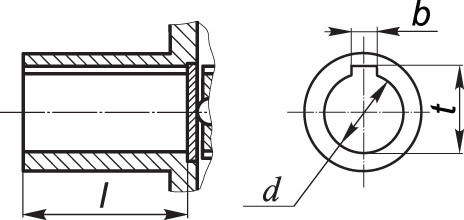
Приєднувальні розміри порожнистих валів мотор-редуктора 3МП-50

| Мотор-редуктор | d | 1 | b | t |
| 3МП-50 | 40Н7 | 80 | 12 | 43,3 |
Мотор-редуктор 3МП-50 (1 ступень, 224 об/мин)
Відгуків про цей товар ще не було.
Немає відгуків про цей товар, станьте першим, залиште свій відгук.
Немає питань про даний товар, станьте першим і задайте своє питання.