Мотор-редуктор 3МП-50 (1 ступінь, 224 об/хв)
Мотор-редуктор 3МП-50 (1 ступінь, 224 об/хв)
Мотор-редуктор 3МП-50 (1 ступінь, 224 об/хв), що часто використовується в приводах промислового обладнання, створений на основі одноступінчастої планетарної передачі. Пристрій оснащений двигуном АІР160S4 потужністю 15 квт. Частота обертання вихідного валу становить 224 об/хв, момент, що крутить, - 610 Нм.
Основна перевага перетворювального механізму – висока ефективність роботи. ККД цієї моделі – 98%. Але це не єдиний плюс планетарних мотор-редукторів 3МП-50. Вони дозволяють отримувати великі передавальні числа, рівномірно розподіляють радіальні навантаження на корпус, мають добрі кінематичні можливості. Пристрій не вимагає складного догляду і дорогого ремонту. Достатньо забезпечити необхідні умови експлуатації та регулярний техогляд, щоб продовжити термін служби.
Мотор-редуктор 3МП-50 (1 ступінь, 224 об/хв) використовується у приводах різного обладнання. Це можуть бути верстати, конвеєрні стрічки, транспортери, зрошувальні установки, елеватори та багато іншого. Єдиний виняток – вантажопідйомні механізми.
Умови використання мотор-редукторів 3МП-50
| Характеристика | Значення |
| Тип навантаження | Змінний, постійний |
| Режим роботи | Тривалий, з періодичними зупинками |
| Напрямок обертання тихохідного валу | Односпрямований, реверсивний |
| Температурний діапазон | Від -45 до +45 градусів |
| Кліматичне виконання | У, Т, категорія розміщення 2, 3 |
| Зовнішнє середовище | Невибухонебезпечне, неагресивне, вміст непровідного пилу не перевищує 10 мг/м3 |
Основні технічні характеристики мотор-редуктора 3МП-50 (одноступінчастий, 224 об/хв):
| Характеристика | Значення |
| Номінальна частота обертання вихідного валу, об/хв | 224 |
| Номінальний момент, що крутить, на вихідному валу, Н.м. | 610 |
| Комплектуючий електродвигун, марка | АІР160Ѕ4 |
| Потужність електродвигуна, кВт | 15 |
| Допустиме радіально-консольне навантаження на вихідному валу, Н | 3430 |
| ККД редукторної частини, % | 98 |
| Маса редукторної частини, кг | 175 |
Компанія «Промпривод» пропонує великий асортимент обладнання, у тому числі й мотор-редуктори 3МП-50 (1 ступінь, 224 об/хв). Купити перетворювачі можна за ціною на 3-10% нижче за ринкову, а також отримати знижку при оформленні оптового замовлення. Гарантія виробника діє протягом року. Доставка можлива у будь-який регіон України.
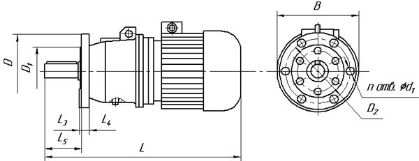
Габаритні та приєднувальні розміри мотор-редукторів 3МП-50 (виконання – на лапах)

| Позначення мотор-редуктора | Частота обертання вихідного валу, об/хв | L | B | H | L 1 | L 2 | B 1 | B 2 | H 1 | H 2 | H 3 | d1 |
| Не більше | ||||||||||||
| 3МП-50 | 112…280 | 925 | 350 | 360 | 145 | 210 | 220 | 266 | 132 | 22 | 43 | 22 |
Габаритні та приєднувальні розміри мотор-редукторів 3МП-50 (виконання - фланець)

| Позначення мотор-редуктора | Частота обертання вихідного валу, об/хв | L | B | L 3 | L 4 | L 5 | D | D 1 | D 2 | d 2 | n |
| Не більше | |||||||||||
| 3МП-50 | 112...280 | 925 | 350 | 8 | 18 | 124 | 250 | 180 | 215 | 17 | 6 |
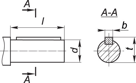
Приєднувальні розміри циліндричних валів мотор-редуктора 3МП-50

| Мотор-редуктор | d | l | b | t |
| 3МП-50 | 45k6 | 110 | 14 | 48,5 |
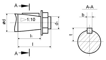
Приєднувальні розміри конічних валів мотор-редуктора 3МП-50

| Мотор-редуктор | d | D1 | 1 | 11 | b | t |
| 3МП-50 | 45 | М30х2,0 | 110 | 82 | 12 | 23,45 |
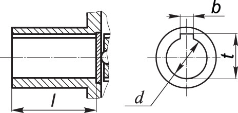
Приєднувальні розміри порожнистих валів мотор-редуктора 3МП-50

| Мотор-редуктор | d | 1 | b | t |
| 3МП-50 | 40Н7 | 80 | 12 | 43,3 |
Мотор-редуктор 3МП-50 (1 ступень, 224 об/мин)
Відгуків про цей товар ще не було.
Немає відгуків про цей товар, станьте першим, залиште свій відгук.
Немає питань про даний товар, станьте першим і задайте своє питання.