Мотор-редуктор 3МП-50 (2 ступені, 35.5 об/хв)
Мотор-редуктор 3МП-50 (2 ступені, 35.5 об/хв)
Двоступінчастий планетарний мотор-редуктор 3МП-50 (2 ступені, 35.5 об/хв) відноситься до загальнопромислових приводних механізмів. Його встановлюють у приводи тихохідного промислового обладнання для регулювання кутової швидкості обертання валу, збільшення крутного моменту та його передачі. Пристрій не підходить для оснащення вантажопідйомних механізмів.
Великий діапазон передавальних чисел, високий ККД (до 97%), довгострокова робота, простота обслуговування, а також доступна ціна, сприяли високому попиту на планетарні мотор-редуктори 3МП. Перетворювачі здатні працювати без перерви протягом 8-24 годин, допустима експлуатація при постійному та змінному навантаженні.
Передавальні механізми випускаються у двох варіантах кліматичного виконання (У та Т), тому робочий діапазон температур у них дуже широкий – від -45 до +45 градусів. мотор-редуктори даного типу не можуть використовуватися в умовах високої вологості, тому при встановленні на вулиці необхідно спорудити навіс для захисту від опадів.
Умови використання мотор-редукторів 3МП-50
| Характеристика | Значення |
| Тип навантаження | Змінниий, постійний |
| Режим роботи | Тривалий, з періодичними зупинками |
| Напрямок обертання тихохідного вала | Односпрямований, реверсивний |
| Температурний діапазон | Від -45 до +45 градусів |
| Кліматичне виконання | У, Т, категорія розміщення 2, 3 |
| Зовнішнє середовище | Невибухонебезпечне, неагресивне, вміст непровідного пилу не перевищує 10 мг/м3 |
Основні технічні характеристики двоступінчастого мотор-редуктора 3МП-50 (2 ступені, 35.5 об/хв):
| Характеристика | Значення |
| Номінальна частота обертання вихідного вала, об/хв | 35.5 |
| Номінальний момент, що крутить, на вихідному валу, Н.м. | 750 |
| Комплектувальний електродвигун, марка | АІР100S4 |
| Потужність електродвигуна, кВт | 3 |
| Допустиме радіально-консольне навантаження на вихідному валу, Н | 6420 |
| ККД редукторної частини, % | 97 |
| Маса редукторної частини, кг | 79 |
Компанія «Промпривод» пропонує придбати якісне обладнання, не переплачуючи. На нашому сайті ви можете купити мотор-редуктор 3МП-50 (2 ступені, 35.5 об/хв) на 3-10% дешевше за його ринкову вартість. Для оптових клієнтів передбачено знижки. Термін дії гарантії продукції – 12 місяців.
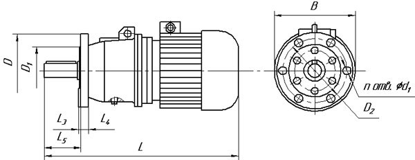
Габаритні та приєднувальні розміри мотор-редукторів 3МП-50 (виконання — на лапах)

| Позначення мотор-редуктора | Частота обертання вихідного вала, об/хв | L | B | H | L 1 | L 2 | B 1 | B 2 | H 1 | H 2 | H 3 | d1 |
| Не більш ніж | ||||||||||||
| 3МП-50 | 18…90 | 682 | 270 | 295 | 145 | 210 | 220 | 266 | 132 | 22 | - | 22 |
Габаритні та приєднувальні розміри мотор-редукторів 3МП-50 (виконання— фланець)

| Позначення мотор-редуктора | Частота обертання вихідного вала, об/хв | L | B | L 3 | L 4 | L 5 | D | D 1 | D 2 | d 2 | n |
| Не більш ніж | |||||||||||
| 3МП-50 | 18…90 | 682 | 270 | 8 | 18 | 124 | 250 | 180 | 215 | 17 | 6 |
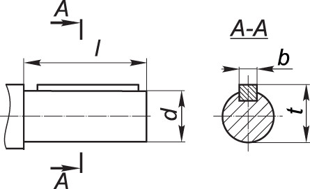
Приєднувальні розміри циліндричних валів мотор-редуктора 3МП-50

| Мотор-редуктор | d | l | b | t |
| 3МП-50 | 45k6 | 110 | 14 | 48,5 |
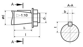
Приєднувальні розміри конічних валів мотор-редуктора 3МП-50

| Мотор-редуктор | d | D1 | 1 | 11 | b | t |
| 3МП-50 | 45 | М30х2,0 | 110 | 82 | 12 | 23,45 |
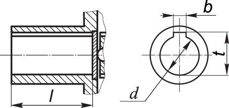
Приєднувальні розміри порожнистих валів мотор-редуктора 3МП-50

| Мотор-редуктор | d | 1 | b | t |
| 3МП-50 | 40Н7 | 80 | 12 | 43,3 |
Мотор-редуктор 3МП-50 (2 ступени, 35.5 об/мин)
Відгуків про цей товар ще не було.
Немає відгуків про цей товар, станьте першим, залиште свій відгук.
Немає питань про даний товар, станьте першим і задайте своє питання.