Мотор-редуктор 3МП-50 (2 ступені, 90 об/хв)
Мотор-редуктор 3МП-50 (2 ступені, 90 об/хв)
Завдяки високому коефіцієнту корисної дії мотор-редуктор 3МП-50 (2 ступені, 90 об/хв) успішно використовується як привод тихохідного промислового обладнання (за винятком вантажопідйомних механізмів).
Перетворювач створений для роботи в стандартних умовах, у неагресивному середовищі без утримання вибухонебезпечних газів. Завдяки двом варіантам кліматичного виконання пристрій здатний працювати при температурі від -45 до +45 градусів, експлуатуватися в районах з помірним та тропічним кліматом.
Робоче навантаження може бути постійним або змінним в межах крутного моменту. Можна безперервно експлуатувати мотор-редуктор 3МП-50 протягом 8-24 годин, але потрібно контролювати рівень нагріву корпусу. Якщо температура підвищується до 90 градусів, пристрій необхідно вимкнути.
Встановлювати передавальний механізм можна у приміщенні без різких коливань температури та вологості. При встановленні на відкритому повітрі необхідно спорудити навіс для захисту від вологи.
Умови використання мотор-редукторів 3МП-50
| Характеристика | Значення |
| Тип навантаження | Змінний, постійний |
| Режим роботи | Тривалий, з періодичними зупинками |
| Напрямок обертання тихохідного вала | Односпрямований, реверсивний |
| Температурний діапазон | Від -45 до +45 градусів |
| Кліматичне виконання | У, Т, категорія розміщення 2, 3 |
| Зовнішнє середовище | Невибухонебезпечне, неагресивне, вміст непровідного пилу не перевищує 10 мг/м3 |
Основні технічні характеристики двоступінчастого мотор-редуктора 3МП-50, 90 об/хв:
| Характеристика | Значення |
| Номінальна частота обертання вихідного вала, об/хв | 90 |
| Номінальний момент, що крутить, на вихідному валу, Н.м. | 570 |
| Комплектувальний електродвигун, марка | АІР100L2 |
| Потужність електродвигуна, кВт | 5,5 |
| Допустиме радіально-консольне навантаження на вихідному валу, Н | 6420 |
| ККД редукторної частини, % | 97 |
| Маса редукторної частини, кг | 112 |
Можливість купити мотор-редуктор 3МП-50 (2 ступені, 90 об/хв) на 3-10% дешевше за його середньоринкову вартість надає своїм клієнтам компанія «Промпривод». Замовляючи обладнання оптом, ви отримуєте додаткові знижки. Термін дії гарантії на нашу продукцію – 12 місяців із моменту придбання. Замовити доставку можна у будь-який регіон України.
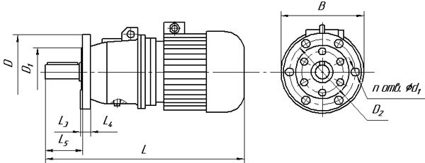
Габаритні та приєднувальні розміри мотор-редукторів 3МП-50 (виконання — на лапах)

| Позначення мотор-редуктора | Частота обертання вихідного вала, об/хв | L | B | H | L 1 | L 2 | B 1 | B 2 | H 1 | H 2 | H 3 | d1 |
| Не більш ніж | ||||||||||||
| 3МП-50 | 18…90 | 682 | 270 | 295 | 145 | 210 | 220 | 266 | 132 | 22 | - | 22 |
Габаритні та приєднувальні розміри мотор-редукторів 3МП-50 (виповнення — фланець)

| Позначення мотор-редуктора | Частота обертання вихідного вала, об/хв | L | B | L 3 | L 4 | L 5 | D | D 1 | D 2 | d 2 | n |
| Не більш ніж | |||||||||||
| 3МП-50 | 18…90 | 682 | 270 | 8 | 18 | 124 | 250 | 180 | 215 | 17 | 6 |
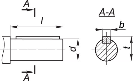
Приєднувальні розміри циліндричних валів мотор-редуктора 3МП-50

| Мотор-редуктор | d | l | b | t |
| 3МП-50 | 45k6 | 110 | 14 | 48,5 |
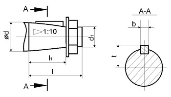
Приєднувальні розміри конічних валів мотор-редуктора 3МП-50

| Мотор-редуктор | d | D1 | 1 | 11 | b | t |
| 3МП-50 | 45 | М30х2,0 | 110 | 82 | 12 | 23,45 |
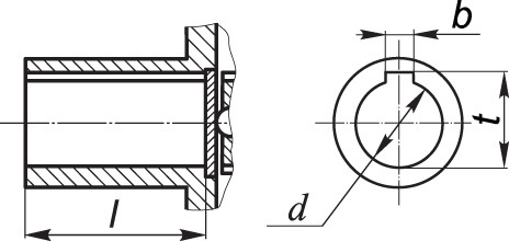
Приєднувальні розміри порожнистих валів мотор-редуктора 3МП-50

| Мотор-редуктор | d | 1 | b | t |
| 3МП-50 | 40Н7 | 80 | 12 | 43,3 |
Мотор-редуктор 3МП-50 (2 ступени, 90 об/мин)
Відгуків про цей товар ще не було.
Немає відгуків про цей товар, станьте першим, залиште свій відгук.
Немає питань про даний товар, станьте першим і задайте своє питання.