Мотор-редуктор 3МП-50 (2 ступені, 45 об/хв)
Мотор-редуктор 3МП-50 (2 ступені, 45 об/хв)
Успішну конкуренцію дорогому імпортному обладнанню здатний скласти мотор-редуктор 3МП-50 (двоступінчастий, 45 об/хв). Створений на основі планетарної передачі, перетворювач має компактний розмір, що кріпиться до станини робочого обладнання на опорному фланці або на лапах. Корпус пристрою виготовлений із чавуну методом лиття. Потужність електродвигуна, що входить до комплектації – 3 кВт.
Вибирати мотор-редуктор рекомендується за такими параметрами:
- діаметр розташування осей сателітів (50 мм для цієї моделі);
- частота обертання вихідного валу (45 об/хв);
- крутний момент (660 Нм);
- передавальне відношення (31,9);
- вага редукторної частини (72 кг);
- конструкція валів (циліндричні, конічні, порожнисті).
Вся необхідна інформація міститься у маркуванні з умовним позначенням, яке наноситься на кожен перетворювач. Уточнити технічні характеристики будь-якого пристрою можна у наших менеджерів.
Умови використання мотор-редукторів 3МП-50
| Характеристика | Значення |
| Тип навантаження | Змінний, постійний |
| Режим роботи | Тривалий, з періодичними зупинками |
| Напрямок обертання тихохідного валу | Односпрямований, реверсивний |
| Температурний діапазон | Від -45 до +45 градусів |
| Кліматичне виконання | У, Т, категорія розміщення 2, 3 |
| Зовнішнє середовище | Невибухонебезпечне, неагресивне, зміст непровідного пилу не перевищує 10 мг/м3 |
Основні технічні характеристики мотор-редуктора 3МП-50 (2 ступені, 45 об/хв)
| Характеристика | Значення |
| Номінальна частота обертання вихідного валу, об/хв | 45 |
| Номінальний момент, що крутить, на вихідному валу, Н.м. | 660 |
| Комплектуючий електродвигун, марка | АІР100Ѕ4 |
| Потужність електродвигуна, кВт | 3 |
| Допустиме радіально-консольне навантаження на вихідному валу, Н | 6420 |
| ККД редукторної частини, % | 97 |
| Маса редукторної частини, кг | 72 |
Вигідна пропозиція від компанії «Промпривод» – купити мотор-редуктор 3МП-50 (двоступінчастий, 45 об/хв) за ціною на 3-10% нижчою за ринкову. Гарантія на обладнання діє протягом 12 місяців. Можна замовити доставку до будь-якого населеного пункту України.
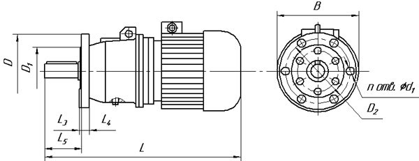
Габаритні і приєднувальні розміри мотор-редукторів 3МП-50 (виконання - на лапах)

| Позначення мотор-редуктора | Частота обертання вихідного валу, об/хв | L | B | H | L 1 | L 2 | B 1 | B 2 | H 1 | H 2 | H 3 | d1 |
| Не більше | ||||||||||||
| 3МП-50 | 18 90... | 682 | 270 | 295 | 145 | 210 | 220 | 266 | 132 | 22 | - | 22 |
Габаритні і приєднувальні розміри мотор-редукторів 3МП-50 (виконання - фланець)

| Позначення мотор-редуктора | Частота обертання вихідного валу, об/хв | L | B | L 3 | L 4 | L 5 | D | D 1 | D 2 | d 2 | n |
| Не більше | |||||||||||
| 3МП-50 | 18 90... | 682 | 270 | 8 | 18 | 124 | 250 | 180 | 215 | 17 | 6 |
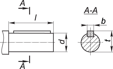
Приєднувальні розміри циліндричних валів мотор-редуктора 3МП-50

| Мотор-редуктор | d | l | b | t |
| 3МП-50 | 45k6 | 110 | 14 | 48,5 |
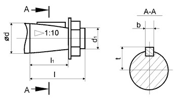
Приєднувальні розміри валів конічних мотор-редуктора 3МП-50

| Мотор-редуктор | d | D1 | 1 | 11 | b | t |
| 3МП-50 | 45 | М30х2,0 | 110 | 82 | 12 | 23,45 |
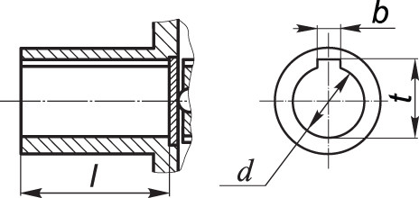
Приєднувальні розміри порожнистих валів мотор-редуктора 3МП-50

| Мотор-редуктор | d | 1 | b | t |
| 3МП-50 | 40Н7 | 80 | 12 | 43,3 |
Мотор-редуктор 3МП-50 (2 ступени, 45 об/мин)
Відгуків про цей товар ще не було.
Немає відгуків про цей товар, станьте першим, залиште свій відгук.
Немає питань про даний товар, станьте першим і задайте своє питання.