Мотор-редуктор 3МП-50 (2 ступені, 56 об/хв)
Мотор-редуктор 3МП-50 (2 ступені, 56 об/хв)
Планетарний мотор-редуктор 3МП-50 (2 ступені, 56 об/хв) перетворює високу швидкість обертання валу на нижчу, крутний момент при цьому пропорційно підвищується.
Завдяки цьому пристрою зменшується навантаження на двигун та підвищується ефективність роботи обладнання. Перетворювачі використовують у приводах більшості промислових механізмів, крім вантажопідйомних.
Гарантувати стабільну роботу мотор-редуктора 3МП-50 можна лише за умови його експлуатації:
- неагресивна среда, яка не містить вибухонебезпечних газів;
- висота над рівнем моря – 1000 м;
- рівень запиленості повітря – до 10 мг/м3;
- вологість – до 80%
- температура від +45 до -45 градусів.
Допускається використання обладнання з постійним та змінним навантаженням, яке не перевищує номінальний крутний момент. Валі можуть обертатися обидві сторони.
Умови використання мотор-редукторів 3МП-50
| Характеристика | Значення |
| Тип навантаження | Змінний, постійний |
| Режим роботи | Тривалий, з періодичними зупинками |
| Напрямок обертання тихохідного валу | Односпрямований, реверсивний |
| Температурний діапазон | Від -45 до +45 градусів |
| Кліматичне виконання | У, Т, категорія розміщення 2, 3 |
| Зовнішнє середовище | Невибухонебезпечне, неагресивне, зміст непровідного пилу не перевищує 10 мг/м3 |
Основні технічні характеристики мотор-редуктора 3МП-50 (2 ступені, 56 об/хв):
| Характеристика | Значення |
| Номінальна частота обертання вихідного валу, об/хв | 56 |
| Номінальний крутний момент на вихідному валу, Н.м | 510 |
| Комплектуючий електродвигун, марка | АІР100Ѕ4 |
| Потужність електродвигуна, кВт | 3 |
| Допустиме радіально-консольне навантаження на вихідному валу, Н | 6420 |
| ККД редукторної частини, % | 97 |
| Маса редукторної частини, кг | 71 |
Придбати якісне обладнання, не переплачуючи цілком реально. Купити мотор-редуктор 3МП-50 (2 ступені, 56 об/хв) за ціною на 3-10% нижче за ринкову пропонує компанія «Промпривод». Крім того, клієнти, які оформили оптове замовлення, отримують знижки. На всю продукцію діє гарантія (на редуктори протягом 12 місяців). Замовити доставку можна в будь-який регіон України, а якщо ви мешкаєте в Харкові, можна забрати обладнання самостійно.
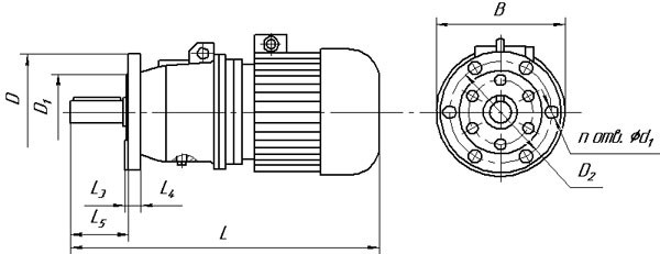
Габаритні і приєднувальні розміри мотор-редукторів 3МП (виконання - на лапах)

| Позначення мотор-редуктора | Частота обертання вихідного валу, об/хв | L | B | H | L 1 | L 2 | B 1 | B 2 | H 1 | H 2 | H 3 | d1 |
| Не більше | ||||||||||||
| 3МП-50 | 18 90... | 682 | 270 | 295 | 145 | 210 | 220 | 266 | 132 | 22 | - | 22 |
Габаритні і приєднувальні розміри мотор-редукторів 3МП (виконання - фланець)

| Позначення мотор-редуктора | Частота обертання вихідного валу, об/хв | L | B | L 3 | L 4 | L 5 | D | D 1 | D 2 | d 2 | n |
| Не більше | |||||||||||
| 3МП-50 | 18 90... | 682 | 270 | 8 | 18 | 124 | 250 | 180 | 215 | 17 | 6 |
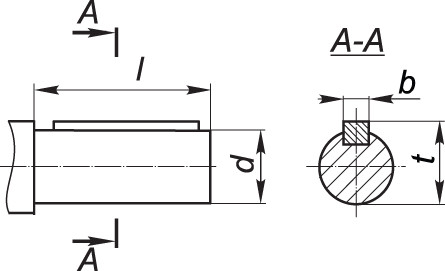
Приєднувальні розміри циліндричних валів мотор-редуктора 3МП

| Мотор-редуктор | d | l | b | t |
| 3МП-50 | 45k6 | 110 | 14 | 48,5 |
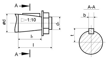
Приєднувальні розміри валів конічних мотор-редуктора 3МП

| Мотор-редуктор | d | D1 | 1 | 11 | b | t |
| 3МП-50 | 45 | М30х2,0 | 110 | 82 | 12 | 23,45 |
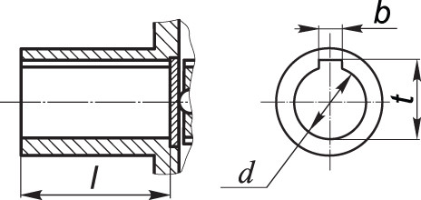
Приєднувальні розміри порожнистих валів мотор-редуктора 3МП

| Мотор-редуктор | d | 1 | b | t |
| 3МП-50 | 40Н7 | 80 | 12 | 43,3 |
Мотор-редуктор 3МП-50 (2 ступени, 56 об/мин)
Відгуків про цей товар ще не було.
Немає відгуків про цей товар, станьте першим, залиште свій відгук.
Немає питань про даний товар, станьте першим і задайте своє питання.