Мотор-редуктор 3МП-50 (2 ступені, 71 об/хв)
Мотор-редуктор 3МП-50 (2 ступені, 71 об/хв)
На планетарний мотор-редуктор 3МП-50 (2 ступені, 71 об/хв) великий попит у сфері промисловості та сільського господарства. Цей пристрій встановлюється в приводи тихохідного обладнання для підвищення і передачі моменту, що крутить.
Перетворювачі можуть використовуватися у верстатах, бурових установках, елеваторах, зрошувальних системах, конвеєрах, транспортерних стрічках тощо, за винятком вантажопідйомних механізмів.
Планетарний мотор-редуктор 3МП-50 на 71 об/хв поєднує в моноблоці механічний двоступінчастий редуктор та електродвигун АІР100S2 потужністю 4 кВт. Планетарна передача редуктора складається з таких елементів:
- коронна шестерня – зовнішнє зубчасте колесо;
- сонячна шестерня – центральне колесо;
- сателіти – розташовані між коронною та сонячною шестернями, постійно взаємодію з ними;
- водило – рухливий елемент, у якому зафіксовані осі сателітів.
Кожна ступінь передачі складається з трьох сателітів, між якими рівномірно розподіляється потужність, що передається. Корпус пристрою виготовлений із литого чавуну, який добре переносить ударні навантаження.
Умови використання мотор-редукторів 3МП-50
| Характеристика | Значення |
| Тип навантаження | Змінний, постійний |
| Режим роботи | Тривалий, з періодичними зупинками |
| Напрямок обертання тихохідного валу | Односпрямований, реверсивний |
| Температурний діапазон | Від -45 до +45 градусів |
| Кліматичне виконання | У, Т, категорія розміщення 2, 3 |
| Зовнішнє середовище | Невибухонебезпечне, неагресивне, зміст непровідного пилу не перевищує 10 мг/м3 |
Основні технічні характеристики двоступінчастого мотор-редуктора 3МП-50 71 об/хв.
| Характеристика | Значення |
| Номінальна частота обертання вихідного валу, об/хв | 71 |
| Номінальний момент, що крутить, на вихідному валу, Н.м. | 530 |
| Комплектуючий електродвигун, марка | АІР100Ѕ2 |
| Потужність електродвигуна, кВт | 4 |
| Допустиме радіально-консольне навантаження на вихідному валу, Н | 6420 |
| ККД редукторної частини, % | 97 |
| Маса редукторної частини, кг | 74 |
Співпраця з компанією «Промпривод» – це можливість купити мотор-редуктор 3МП-50 (2 ступені, 71 об/хв) на 3-10% дешевше за його ринкову вартість. Оптові замовники одержують знижки. Гарантія на обладнання надається на 12 місяців. Ми своєчасно відвантажуємо продукцію та відправляємо її у всі регіони України.
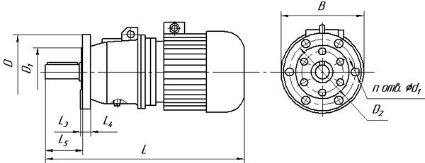
Габаритні і приєднувальні розміри мотор-редукторів 3МП-50 (виконання - на лапах)

| Позначення мотор-редуктора | Частота обертання вихідного валу, об/хв | L | B | H | L 1 | L 2 | B 1 | B 2 | H 1 | H 2 | H 3 | d1 |
| Не більше | ||||||||||||
| 3МП-50 | 18 90... | 682 | 270 | 295 | 145 | 210 | 220 | 266 | 132 | 22 | - | 22 |
Габаритні і приєднувальні розміри мотор-редукторів 3МП-50 (виконання - фланець)

| Позначення мотор-редуктора | Частота обертання вихідного валу, об/хв | L | B | L 3 | L 4 | L 5 | D | D 1 | D 2 | d 2 | n |
| Не більше | |||||||||||
| 3МП-50 | 18 90... | 682 | 270 | 8 | 18 | 124 | 250 | 180 | 215 | 17 | 6 |
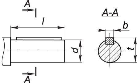
Приєднувальні розміри циліндричних валів мотор-редуктора 3МП-50

| Мотор-редуктор | d | l | b | t |
| 3МП-50 | 45k6 | 110 | 14 | 48,5 |
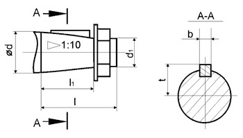
Приєднувальні розміри конічних валів мотор-редуктора 3МП-50

| Мотор-редуктор | d | D1 | 1 | 11 | b | t |
| 3МП-50 | 45 | М30х2,0 | 110 | 82 | 12 | 23,45 |
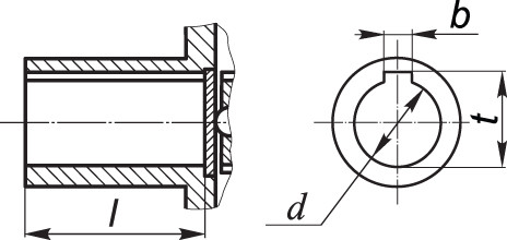
Приєднувальні розміри порожнистих валів мотор-редуктора 3МП-50

| Мотор-редуктор | d | 1 | b | t |
| 3МП-50 | 40Н7 | 80 | 12 | 43,3 |
Мотор-редуктор 3МП-50 (2 ступени, 71 об/мин)
Відгуків про цей товар ще не було.
Немає відгуків про цей товар, станьте першим, залиште свій відгук.
Немає питань про даний товар, станьте першим і задайте своє питання.