Мотор-редуктор 3МП-50 (2 ступені, 71 об/хв)
Мотор-редуктор 3МП-50 (2 ступені, 71 об/хв)
Мотор-редуктор 3МП-50 (2 ступені, 71 об/хв) знайомий багатьом користувачам ще з радянських часів. Пристрій, що знижує кутову швидкість обертання валу і підвищує момент, що крутить, не втратило актуальності до цього дня. Перетворювач використовують у приводах більшості промислових машин, крім вантажопідйомних механізмів.
Збільшенню попиту на планетарні мотор-редуктори 3МП-50 сприяли їх переваги:
- ефективна робота (ККД цієї моделі 97%);
- цільове використання енергії та відсутність сильного нагріву корпусу;
- великі передавальні числа;
- рівномірний розподіл навантажень на корпус;
- два варіанти монтажу (на лапи та на фланець);
- безперервна робота протягом тривалого часу;
- стандартні умови експлуатації;
- надійність;
- недорогий ремонт та просте обслуговування.
При дотриманні умов експлуатації та проведенні регулярного технічного обслуговування перетворювачі типу 3МП здатні прослужити дуже довго.
Умови використання мотор-редукторів 3МП-50
| Характеристика | Значення |
| Тип навантаження | Змінний, постійний |
| Режим роботи | Тривалий, з періодичними зупинками |
| Напрямок обертання тихохідного валу | Односпрямований, реверсивний |
| Температурний діапазон | Від -45 до +45 градусів |
| Кліматичне виконання | У, Т, категорія розміщення 2, 3 |
| Зовнішнє середовище | Невибухонебезпечне, неагресивне, зміст непровідного пилу не перевищує 10 мг/м3 |
Основні технічні характеристики двоступінчастого мотор-редуктора 3МП-50 (2 ступені, 71 об/хв):
| Характеристика | Значення |
| Номінальна частота обертання вихідного валу, об/хв | 71 |
| Номінальний момент, що крутить, на вихідному валу, Н.м. | 730 |
| Комплектуючий електродвигун, марка | АІР100L2 |
| Потужність електродвигуна, кВт | 5,5 |
| Допустиме радіально-консольне навантаження на вихідному валу, Н | 6420 |
| ККД редукторної частини, % | 97 |
| КПД редукторної частини, % | 80 |
Якщо ви підбираєте ефективний та надійний передавальний механізм, рекомендуємо купити мотор-редуктор 3МП-50 (2 ступені, 71 об/хв). Компанія «Промпривод» реалізує обладнання за ціною на 3-10% нижчою від середньоринкової та надає знижки оптовим покупцям. Гарантія діє протягом року. Замовляйте доставку до будь-якого населеного пункту України, у Харкові можливий самовивіз.
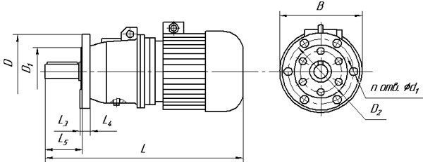
Габаритні і приєднувальні розміри мотор-редукторів 3МП (виконання - на лапах)

| Позначення мотор-редуктора | Частота обертання вихідного валу, об/хв | L | B | H | L 1 | L 2 | B 1 | B 2 | H 1 | H 2 | H 3 | d1 |
| Не більше | ||||||||||||
| 3МП-50 | 18 90... | 682 | 270 | 295 | 145 | 210 | 220 | 266 | 132 | 22 | - | 22 |
Габаритні і приєднувальні розміри мотор-редукторів 3МП (виконання - фланець)

| Позначення мотор-редуктора | Частота обертання вихідного валу, об/хв | L | B | L 3 | L 4 | L 5 | D | D 1 | D 2 | d 2 | n |
| Не більше | |||||||||||
| 3МП-50 | 18 90... | 682 | 270 | 8 | 18 | 124 | 250 | 180 | 215 | 17 | 6 |
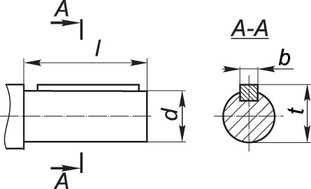
Приєднувальні розміри циліндричних валів мотор-редуктор 3МП

| Мотор-редуктор | d | l | b | t |
| 3МП-50 | 45k6 | 110 | 14 | 48,5 |
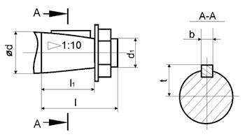
Приєднувальні розміри конічних валів мотор-редуктора 3МП

| Мотор-редуктор | d | D1 | 1 | 11 | b | t |
| 3МП-50 | 45 | М30х2,0 | 110 | 82 | 12 | 23,45 |
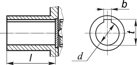
Приєднувальні розміри порожнистих валів мотор-редуктора 3МП

| Мотор-редуктор | d | 1 | b | t |
| 3МП-50 | 40Н7 | 80 | 12 | 43,3 |
Мотор-редуктор 3МП-50 (2 ступени, 71 об/мин)
Відгуків про цей товар ще не було.
Немає відгуків про цей товар, станьте першим, залиште свій відгук.
Немає питань про даний товар, станьте першим і задайте своє питання.