Мотор редуктор 3МП-50 (3 ступені 9 об/хв)
Мотор редуктор 3МП 50 (3 ступені 9 об/хв)
Мотор редуктор 3МП 50 (3 ступені 9 об/хв) використовується для комплектації бетономішалок, котелень, зрошувальних систем, напувалок для птахів, насосних станцій та іншого промислового та сільськогосподарського обладнання.
По суті, мотор редуктор – промисловий перетворювач, що використовується для захисту двигуна від перевантаження. Обладнання допомагає зменшити обертальний момент та збільшити кількість обертів робочого механізму.
Промислові перетворювачі 3МП відрізняються від інших моделей редукторів декількома характеристиками:
- гарною стійкістю до ударних навантажень;
- значними показниками кінематичних значень;
- здатністю рівномірно розподіляти радіальні сили вздовж усього корпусу.
Купити мотор редуктор 3МП 50 3 ступені 9 об/хв з гарантією можна на сайті «Промприводу». Устаткування, представлене на сайті, відповідає встановленим стандартам якості та постачається перед ретельною перевіркою у відділі технічного контролю компанії.
Умови використання мотор-редуктора 3МП 50
| Характеристика | Значення |
| Тип навантаження | Постійний, змінний |
| Напрямок обертання тихохідного валу | Односпрямований або реверсивний |
| Режим роботи | Тривалий або з періодичними зупинками |
| Кліматичне виконання | У, Т, категорія розміщення 2,3 |
| Температурний діапазон | Від -45 до +45С |
| Зовнішнє середовище | Неагресивне, вибухобезпечне, з вмістом непровідного пилу до 10мг/м3 |
Основні технічні характеристики мотор-редуктора 3МП 50 (9 об/хв, АІР71А4)
| Частота обертання вихідного валу об/хв | Кількість ступенів | ККД мотор-редуктора не менше % | Маса редуктора кг | Допустиме радіально-консольне навантаження на вихідному валу, Н | Комплектуючий електродвигун | |
| Марка | Потужність кВт | |||||
| 9 | 3 | 65% | 67 | 6590 | АІР71А4 | 0,55 |
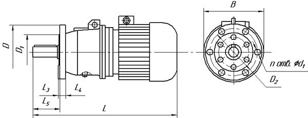
Габаритні та приєднувальні розміри мотор-редуктора 3МП 50 (виконання – на лапах)

| Позначення мотор-редуктора | Частота обертання вихідного валу об/хв | L | B | H | L1 | L2 | B1 | B2 | H1 | H2 | H3 | d1 |
| Не більше | ||||||||||||
| 3МП-50 | 9 | 637 | 270 | 295 | 145 | 210 | 220 | 266 | 132 | 22 | - | 22 |
Габаритні та приєднувальні розміри мотор-редуктора 3МП 50 (виконання - фланець)

| Позначення мотор-редуктора | Частота обертання вихідного валу об/хв | L | B | L3 | L4 | L5 | D | D1 | D2 | d2 | n |
| Не більше | |||||||||||
| 3МП-50 | 9 | 637 | 270 | 8 | 18 | 124 | 250 | 180 | 215 | 17 | 6 |
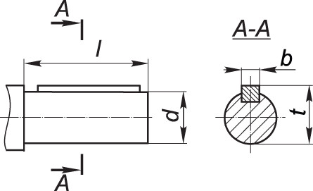
Приєднувальні розміри циліндричних валів мотор-редуктора 3МП

| Мотор-редуктор | d | l | b | t |
| 3МП-50 | 45k6 | 110 | 14 | 48,5 |
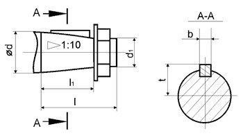
Приєднувальні розміри конічних валів мотор-редуктора 3МП

| Мотор-редуктор | d | d1 | l | l1 | b | t |
| 3МП-50 | 45 | М30х2,0 | 110 | 82 | 12 | 23,45 |
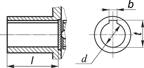
Приєднувальні розміри порожнистих валів мотор-редуктора 3МП

| Мотор-редуктор | d | l | b | t |
| 3МП-50 | 40Н7 | 80 | 12 | 43,3 |
Мотор редуктор 3МП-50 (3 ступени 9 об/мин)
Відгуків про цей товар ще не було.
Немає відгуків про цей товар, станьте першим, залиште свій відгук.
Немає питань про даний товар, станьте першим і задайте своє питання.