Мотор редуктор 3МП-50 (3 ступені 9 об/хв)
Мотор редуктор 3МП-50 (3 ступені 9 об/хв)
Мотор редуктор 3МП-50 (3 ступені 9 об/хв) використовується для комплектування обладнання промислового та сільськогосподарського типу. Як правило, монтують перетворювачі на бетономішалки, зрошувальні системи, котельні, преси, напувалки для птахів, насосні станції, подрібнювачі сумішей, дозатори.
Обладнання по суті поєднує в собі асинхронний електродвигун марки АІР71В4 і редуктор зубчастого типу з планетарною передачею. Основне призначення промислового перетворювача – зниження робочого навантаження на двигун.
Редуктор 3МП має високий крутний момент на вихідному валу та значні кінематичні можливості. Монтувати перетворювач слід за умов помірного та тропічного клімату, у приміщеннях із вибухобезпечним середовищем.
Купити мотор редуктор 3МП-50 (3 ступені 9 об/хв) за ціною, нижчою від ринку, можна купити на сайті компанії «Промпривод». Наше обладнання відповідає встановленим стандартам якості. Гарантійний термін обладнання складає 12 місяців. Для замовлення пишіть нашим менеджерам або телефонуйте за телефонами, вказаними в розділі «Контакти».
Умови використання мотор-редуктора 3МП 50
| Характеристика | Значення |
| Тип навантаження | Постійний, змінний |
| Напрямок обертання тихохідного валу | Односпрямований або реверсивний |
| Режим роботи | Тривалий або з періодичними зупинками |
| Кліматичне виконання | У, Т, категорія розміщення 2,3 |
| Температурний діапазон | Від -45 до +45С |
| Зовнішнє середовище | Неагресивне, вибухобезпечне, з вмістом непровідного пилу до 10мг/м3 |
Основні технічні характеристики мотор-редуктора 3МП 50 (9 об/хв, АІР71В4)
| Частота обертання вихідного валу об/хв | Кількість ступенів | ККД мотор-редуктора не менше % | Маса редуктора кг | Допустиме радіально-консольне навантаження на вихідному валу, Н | Комплектуючий електродвигун | |
| Марка | Потужність кВт | |||||
| 9 | 3 | 65% | 67 | 6590 | АІР71В4 | 0,55 |
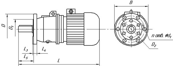
Габаритні та приєднувальні розміри мотор-редуктора 3МП 50 (виконання – на лапах)

| Позначення мотор-редуктора | Частота обертання вихідного валу об/хв | L | B | H | L1 | L2 | B1 | B2 | H1 | H2 | H3 | d1 |
| Не більше | ||||||||||||
| 3МП-50 | 9 | 637 | 270 | 295 | 145 | 210 | 220 | 266 | 132 | 22 | - | 22 |
Габаритні та приєднувальні розміри мотор-редуктора 3МП 50 (виконання - фланець)

| Позначення мотор-редуктора | Частота обертання вихідного валу об/хв | L | B | L3 | L4 | L5 | D | D1 | D2 | d2 | n |
| Не більше | |||||||||||
| 3МП-50 | 9 | 637 | 270 | 8 | 18 | 124 | 250 | 180 | 215 | 17 | 6 |
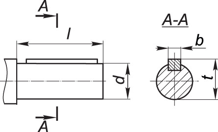
Приєднувальні розміри циліндричних валів мотор-редуктора 3МП

| Мотор-редуктор | d | l | b | t |
| 3МП-50 | 45k6 | 110 | 14 | 48,5 |
Приєднувальні розміри конічних валів мотор-редуктора 3МП

| Мотор-редуктор | d | d1 | l | l1 | b | t |
| 3МП-50 | 45 | М30х2,0 | 110 | 82 | 12 | 23,45 |
Приєднувальні розміри порожнистих валів мотор-редуктора 3МП

| Мотор-редуктор | d | l | b | t |
| 3МП-50 | 40Н7 | 80 | 12 | 43,3 |
Мотор редуктор 3МП-50 (3 ступени 9 об/мин)
Відгуків про цей товар ще не було.
Немає відгуків про цей товар, станьте першим, залиште свій відгук.
Немає питань про даний товар, станьте першим і задайте своє питання.