Редуктор МПО-2М-15
Мотор-редуктор МПО-2М-15
Планетарний мотор-редуктор МПО-2М-15 застосовують в основному в хімічній, харчовій, медичній, а також багатьох інших галузях. Його принцип роботи - це передача крутного моменту іншим механізмам, що обертають.
Мотор-редуктор МПО-2М-15 рекомендують застосовувати при температурі від -40 до +50 градусів Цельсія в неагресивному середовищі. Він є надійним, простим у використанні та має високий показник ККД. Детальні технічні характеристики мотор-редуктора Ви знайдете нижче.
Придбати цю модель мотор-редуктора можна просто на нашому веб-сайті компанії «Промпривод». Для замовлення даного товару Ви можете зв'язатися з нашими менеджерами за номером, вказаним на сайті, або заповнити онлайн-форму. При покупці мотор-редуктора, Ви також отримуєте:
- високу якість;
- ціну від виробника;
- паспорт;
- гарантію 12 місяців.
Доставка здійснюється будь-яким зручним для Вас способом по всій території України.
Технічні характеристики планетарного мотор-редуктора МПО-2М-15:
| Передавальне число | Швидкість, з якою обертається вихідний вал, об/хв | Момент крутіння на виході, Нм | Маса пристрою, кг | Рівень потужності за шкалою А, дБ (не більше) | Двигун | |
| Марка двигуна | Потужність, кВт | |||||
| 24.6 | 59 | 1176 | 267 | 93 | 4АМ132М4 | 11 |
| 1725 | 315 | 2В132М4 | ||||
| 32.1 | 45 | 1131 | 252 | 4АМ1321S4 | 7.5 | |
| 305 | 2B132S4 | |||||
| 267 | 4AM132M4 | 11 | ||||
| 1542 | 315 | 2B132M4 | ||||
| 252 | 4AM132S4 | 7.5 | ||||
| 2262 | 305 | 2B132S4 | ||||
| 228 | 4AM112MA4 | 5.5 | ||||
| 270 | 2B112M4 | |||||
| 46.9 | 31 | 1642 | 228 | 89 | 4AM112MA4 | |
| 270 | 2B112M4 | |||||
| 81.5 | 18 | 1542 | 207 | 86 | 4AMX100SA4 | 3 |
| 260 | 2B100S4 | |||||
| 101.7 | 14 | 991 | 191 | 4AMX80B4 | 1.5 | |
| 204 | B80B4 | |||||
| 204 | 6.7 | 1036 | 186 | 4AMX71B4 | 0.75 | |
| 195 | B71B4 | |||||
| 4.6 | 1509 | 190 | 4AMX80A6 | |||
| 202 | B80A6 | |||||
Приклад умовного позначення двигуна редуктора МПО-2М-15:

Приєднувальні та габаритні розміри планетарного мотор редуктора МПО-2М-15 (варіант кріплення на лапах):

| L | L1 | L5 | L6 | L7 | B | B1 | H | H1 | H2 | d4 |
| 1010 | 620 | 215 | 210 | 295 | 460 | 390 | 495 | 225 | 35 | 22 |
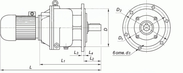
Приєднувальні та габаритні розміри планетарного мотор редуктора МПО-2М-15 (варіант кріплення на фланці):

| L | L1 | L2 | L3 | L4 | D | D1 | D2 | d3 |
| 1010 | 620 | 190 | 20 | 10 | 330 | 375 | 420 | 22 |
Розміри циліндричного та конічного валів:

| d | d1 | d2 | l | l1 | l2 | b | t | n |
| 65k6 | 55 | 62 | 140 | 8 | 6 | 18 | 69 | 6 |
Редуктор МПО-2М-15
Відгуків про цей товар ще не було.
Немає відгуків про цей товар, станьте першим, залиште свій відгук.
Немає питань про даний товар, станьте першим і задайте своє питання.