Редуктор МПО-2М-18
Мотор-редуктор МПО-2М-18
Пропонуємо до вашої уваги мотор-редуктор МПО - мотор-редуктора МПО-2М-18. Використовують мотор-редуктор МПО-2М-18 досить широко: і в медичній, і в хімічній, і мікробіологічній, і в харчовій промисловості, а також в інших областях.
Застосовується обладнання одночасно з апаратами, які оснащені механізмами, що перемішують, і, крім того, з машинами загального застосування. Даний агрегат є планетарним зубчастого типу, виконаний він у вигляді блоку асинхронного двигуна, що обдувається, і планетарного редуктора.
У комплектацію мотор-редуктора МПО-2М-18 входять електродвигуни загального застосування та електродвигуни, виконані у вибухозахисному варіанті.
Мотор-редуктор МПО-2М-18 відрізняють:
- підвищена здатність навантаження і надійність;
- безвідмовність у ході застосування;
- найкращий коефіцієнт корисної дії;
- широкий діапазон передавальних величин.
Мотор-редуктор МПО-2М-18 розрахований для роботи в наступних умовах:
- режим роботи тривалий;
- обертання вихідного валу у будь-який бік;
- кліматичні виконання У та Т за ГОСТ 15150;
- неагресивне та вибухонебезпечне довкілля (належить до мотор-редукторів з вибухозахищеними електродвигунами);
- температура середовище від -40С до +50С.
Технічні характеристики планетарного мотор-редуктора МПО-2М-18:
| Передавальне число | Швидкість, з якою обертається вихідний вал, об/хв | Момент крутіння на виході, Нм | Потужність двигуна, кВт | Допустиме навантаження на вихідному валу, Н | Маса мотор-редуктора, кг |
| 208 | 6.7 | 2072 | 1.5 | 12000 | 425 |
| 435 | |||||
| 96 | 15 | 1851 | 3 | 440 | |
| 480 | |||||
| 81.6 | 18 | 2827 | 5.5 | 460 | |
| 515 | |||||
| 66.5 | 22 | 2313 | 5.5 | 460 | |
| 515 | |||||
| 3154 | 7.5 | 485 | |||
| 535 | |||||
| 45.5 | 32 | 2169 | 7.5 | 485 | |
| 535 | |||||
| 3181 | 11 | 500 | |||
| 550 | |||||
| 29.6 | 49 | 2077 | 11 | 500 | |
| 550 | |||||
| 2833 | 15 | 535 | |||
| 635 | |||||
| 22.8 | 64 | 2169 | 15 | 535 | |
| 635 |
Приклад умовного позначення двигуна редуктора МПО-2М-18:

Приєднувальні та габаритні розміри планетарного мотор редуктора МПО-2М-18 (варіант кріплення на лапах):

| L | L1 | L5 | L6 | L7 | B | B1 | H | H1 | H2 | d4 |
| 1310 | 790 | 250 | 280 | 375 | 600 | 520 | 570 | 315 | 45 | 26 |
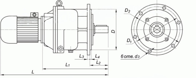
Приєднувальні та габаритні розміри планетарного мотор редуктора МПО-2М-18 (варіант кріплення на фланці):

| L | L1 | L2 | L3 | L4 | D | D1 | D2 | d3 |
| 1310 | 790 | 220 | 25 | 10 | 470 | 520 | 565 | 22 |
Розміри циліндричного та конічного валів:

| d | d1 | d2 | l | l1 | l2 | b | t | n |
| 80k6 | 70 | 78 | 170 | 10 | 8 | 22 | 85 | 8 |
Редуктор МПО-2М-18
Відгуків про цей товар ще не було.
Немає відгуків про цей товар, станьте першим, залиште свій відгук.
Немає питань про даний товар, станьте першим і задайте своє питання.