Редуктор МПО-1М-10
Мотор-редуктор МПО-1М-10
Мотор-редуктор МПО-1М-10 є планетарним і призначений для передачі крутного моменту механізмам, що перемішують, які застосовуються в хімічних, харчових, а також інших галузях.
МПО-1М-10 складається з асинхронного електродвигуна і планетарного редуктора. Даний двигун-редуктор може працювати тривалий час без зупинок при різних типах навантажень.
Купити дану модель мотор-редуктора можна легко на нашому сайті компанії «Промпривод». Для замовлення даного товару Ви можете зв'язатися з нашими менеджерами за номером, вказаним на сайті, або заповнити онлайн-форму. При покупці мотор-редуктора, Ви також отримуєте:
- висока якість;
- ціну від виробника;
- паспорт;
- гарантію 12 місяців.
Доставка здійснюється будь-яким зручним для Вас способом по всій території України.
Технічні характеристики планетарного мотор-редуктора МПО-1М-10:
| Типорозмір редуктора | Передавальне число | Швидкість, з якою обертається вихідний вал, об/хв | Момент крутіння на вихідному валу, Нм | Двигун | Маса пристрою, кг | |
| Марка двигуна | Потужність, кВт | |||||
| МПО1М-10-7.34-3/130 | 7.34 | 130 | 210 | АІР112М6 | 3 | 125 |
| МПО1М-10-5.74-3/170 | 5.74 | 170 | 160 | АІР112М6 | 3 | 125 |
| МПО1М-10-5.74-5.5/170 | 5.74 | 170 | 290 | АІР132S6 | 5.5 | 150 |
| МПО1М-10-7.34-3/195 | 7.34 | 195 | 140 | АІР100S4 | 3 | 105 |
| МПО1М-10-7.34-5.5/195 | 7.34 | 195 | 260 | АІР112M4 | 5.5 | 125 |
| МПО1М-10-5.74-3/250 | 5.74 | 250 | 110 | АІР100S4 | 3 | 105 |
| МПО1М-10-5.74-5.5/250 | 5.74 | 250 | 205 | АІР112M4 | 5.5 | 125 |
| МПО1М-10-5.74-7.5/250 | 5.74 | 250 | 278 | АІР132S4 | 7.5 | 150 |
Приклад умовного позначення двигуна редуктора МПО-1М-10:

Приєднувальні та габаритні розміри планетарного двигуна редуктора МПО-1М-10 (варіант кріплення на лапах):

| L | L1 | L5 | L6 | L7 | B | B1 | H | H1 | H2 | d4 |
| 745 | 365 | 125 | 150 | 210 | 300 | 250 | 365 | 160 | 20 | 17 |
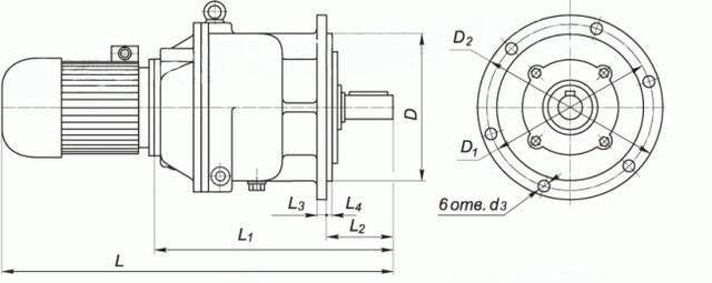
Приєднувальні та габаритні розміри планетарного двигуна редуктора МПО-1М-10 (варіант кріплення на фланці):

| L | L1 | L2 | L3 | L4 | D | D1 | D2 | d3 |
| 745 | 365 | 110 | 16 | 6 | 270 | 300 | 330 | 13 |
Розміри циліндричного та конічного валів:

| d | d1 | d2 | l | l1 | l2 | b | t | n |
| 40k6 | 32 | 38 | 80 | 5 | 4 | 12 | 43 | 6 |
Редуктор МПО-1М-10
Відгуків про цей товар ще не було.
Немає відгуків про цей товар, станьте першим, залиште свій відгук.
Немає питань про даний товар, станьте першим і задайте своє питання.